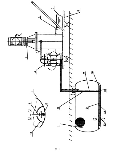
·À±¬´¢¹ÞÇåÎÛ×°ÖðüÀ¨ÓÐÆø¶¯¸ôĤ±Ã¡¢×Ô¶¯ÇåÏ´¹ýÂËÆ÷ºÍÇåÎÛÈÝÆ÷ÒÔ¼°ÅçÓ͹ܺÍÎüÓ͹ܣ»Æø¶¯¸ôĤ±Ã¡¢×Ô¶¯ÇåÏ´¹ýÂËÆ÷ºÍÇåÎÛÈÝÆ÷°²×°ÔÚÊÖÍÆ³µµÄƽ°åÉÏ£¬ÅçÓ͹ܺÍÎüÓ͹ÜÉèÖÃÔÚ·À±¬´¢¹ÞÄÚ£»Æø¶¯¸ôĤ±Ã½øÓÍ¿Úͨ¹ýÈí½º¹ÜÁ¬½ÓÎüÓ͹ܳöÓͿڣ¬×Ô¶¯ÇåÏ´¹ýÂËÆ÷³öÓÍ¿Úͨ¹ýÈí½º¹ÜÁ¬½ÓÅçÓ͹ܵĽøÓͿڣ¬Æø¶¯¸ôĤ±ÃÓëÎüÓ͹ÜÒÔ¼°×Ô¶¯ÇåÏ´¹ýÂËÆ÷ÓëÅçÉä¹ÜµÄ½ø³öÓÍ¿ÚÁ¬½ÓµÄ¿ìËÙ½ÓÍ·¾ùΪÒõ¡¢Ñô½ÓÍ·¡£Æø¶¯¸ôĤ±Ã³öÓÍ¿ÚÓë×Ô¶¯ÇåÏ´¹ýÂËÆ÷½øÓÍ¿ÚÓÉÈí½º¹ÜÏàÁ¬½Ó£¬×Ô¶¯ÇåÏ´¹ýÂËÆ÷϶ËÓÍÎÛ³ö¿Úͨ¹ýÈí½º¹ÜͨÈëµ½ÇåÎÛÈÝÆ÷ÄÚ¡£
ËùÊöµÄÅçÓ͹ÜÓÉÅçÉäÊú¹ÜºÍÅçÉäºá¹Ü¹¹³É£¬ÅçÉäÊú¹ÜºÍÅçÉäºá¹Ü¹¹³ÉTÐͽṹ£¬¾ùÓÉΦ50ºÁÃ׵IJ»Ðâ¸Ö¹ÜÖÆ³É¡£ÔÚÅçÉäÊú¹ÜµÄÍⲿÉèÖÃÓÐͬÐÄÖáÎüÓ͹ܣ¬ÎüÓ͹ܲÉÓÃΦ100ºÁÃ׵IJ»Ðâ¸Ö¹Ü¡£ÅçÉäÊú¹ÜµÄÉ϶˿ڴ©¹ýÎüÓ͹ܲà±ÚÒÔ¼°ÎüÓ͹ܵÄÉ϶˿ڷֱðͨ¹ý·¨À¼Á¬½ÓÓпìËÙ½ÓÍ·£¬ÅçÉäÊú¹ÜºÍÎüÓ͹ܴ©¹ý·À±¬´¢¹ÞµÄÇåÎÛËíµÀ£¬ÎüÓ͹Üδ¶ËÉèÖÃÓÐÀ©ÕÅÐÎÎüÓͿڣ¬ÎüÓÍ¿ÚÔÚÇåÎÛËíµÀÄÚ£¬ÅçÉäÊú¹ÜÓëÉèÖÃÔÚÇåÎÛËíµÀÄÚÅçÉäºá¹ÜÕý½»º¸½ÓΪһÌå¡£
ËùÊöµÄÅçÓͺá¹Üÿ¼ä¸ô300-500ºÁÃ×λÖÃÉèÖÃÒ»ÅçÓͿڣ¬µÚһλÖõÄÅçÓÍ¿ÚÉèÖÃÔÚÅçÓͺá¹ÜµÄµ×²¿£¬Ïà¼ÌµÚ¶þÅçÓÍ¿ÚλÖÃÉèÖÃÔÚÅçÓͺá¹ÜµÄ²à±ÚÉÏÓÐÁ½¸ö¶Ô³Æ£¬Èç´Ë½»´íÉèÖã¬ÅçÓÍ¿ÚÖ±¾¶ÎªΦ20ºÁÃס£ÅçÉäºá¹ÜµÄÍⲿº¸ÓÐÈý¸ö¿¨¹¿£¬¿¨¹¿ÏÂÖ§½Å×ùÂäÔÚ·À±¬´¢¹ÞµÄ¹Þµ×¡£
ËùÊöµÄÅçÉäÊú¹ÜºÍÎüÓ͹ÜΪƽÐÐÉèÖã¬ÖмäÓп¨¹¿Á¬½Ó¡£
ËùÊöµÄÊÖÍÆ³µÆ½°åÊÇÓɲ۸ֺ¸½Ó³É³¤·½ÐοòÌ壬ÖмäÓмÓÇ¿½î£¬¿òÌåÉÏÆÌÉèÓв¨ÎƸְ壬²à±Úº¸ÓÐ∏ÐÍÊÖÍÆ±ú£¬Ï²¿ÉèÓÐǰ¡¢ºó»¬ÂÖ£¬Á½Ç°ÂÖΪÍòÏòÂÖ£¬×ªÍä×ÔÓÉ¡£
Æø¶¯¸ôĤ±ÃÆøÔ´ÊÇÓÉ¿ÕÆøÑ¹Ëõ»úÌṩµÄ£¬¿ÕÆøÑ¹Ëõ»úµçÔ´ÊÇÓÉÔÚÊÖÍÆ³µÉÏÉèÖõĵçÆ÷¿ØÖƹñÌṩµÄ¡£×Ô¶¯ÇåÏ´¹ýÂËÆ÷µÄµç»ú¶¯Á¦ÓɵçÆ÷¿ØÖƹñÌṩµÄ¡£
ËùÊöµÄÇåÎÛÈÝÆ÷ΪÊÖÌáСͰ¡£
±¾ÇåÎÛ×°ÖÃÊÇרÃÅΪ·À±¬´¢¹ÞÅäÖõÄÌØÊâÇåÎÛÉ豸£¬Ëü½â¾öÁËĿǰ·À±¬´¢¹ÞÄÚµÄÓÍÎÛÄÑÒ×ÇåÏ´µÄÄÑÌâ¡£±¾×°ÖõÄÇåÎÛ´ëÊ©ÊǽèÓ÷À±¬´¢¹ÞÄÚ´¢´æÒ»¶¨Á¿µÄ½éÖÊ(Ô·À±¬´¢¹ÞÄÚ´¢´æµÄ½éÖÊ£¬ÈçÆûÓÍ»ò²ñÓ͵È)£¬ÔÚ·À±¬´¢¹ÞÄÚ¸ÃÇåÎÛ×°ÖÃÓªÔì³öʹ·À±¬´¢¹ÞÄڵĽéÖÊÐγÉÁ÷¶¯£¬Ëü½«Ê¹Óë·À±¬´¢¹ÞÄÚµÄÓÍÎÛ½øÐлìºÏÐγɻìºÏÁ÷£¬´Ë»ìºÏÁ÷ЯͬÓÍÎÛ±»Æø¶¯¸ôĤ±Ã³éÎüµ½¹ÞÍ⣬ÔÙͨ¹ý×Ô¶¯ÇåÏ´¹ýÂËÆ÷½øÐйýÂË£¬ÊµÏÖÓÍ¡¢ÎÛ·ÖÀ룬·ÖÀëµÄÇå½àÓÍÓÖ±»Ë͵½·À±¬´¢¹ÞµÄÇåÎÛËíµÀÄÚÐγɲ»¼ä¶ÏµÄ»ìºÏÁ÷¡£±¾×°ÖÃÔÚÇåÎÛËíµÀÄÚÉèÖÃÅçÉä¹ÜºÍÎüÒý¹ÜÄ¿µÄÊÇ£¬½«ÒýÈëÇå½à½éÖÊÀ´Çýʹ¶àÄê³Á»ýµÄÓÍÎÛÁ÷¶¯´Ó¶øÐγɻìºÏÁ÷£»ÕâÑùÇå½àÓͽéÖʲ»¶ÏµÄÊäË͸øÇåÎÛËíµÀʹÓÍÎÛÐγɻìºÏÁ÷¡¢ÓÖ²»¶ÏµØ±»³éÎüµ½¹ÞÍâ½øÐÐÓÍ¡¢ÎÛ·ÖÀ룬ֱµ½·À±¬´¢¹ÞÄÚµÄÎÛÄà±»Çå³ý¸É¾»ÎªÖ¹¡£
ΪʵÏÖÉÏÊöÇåÎÛ´¦Àí²»¿ÉȱÉÙµÄÌõ¼þÊÇ£ºÔÚ·À±¬´¢¹ÞÄÚ±ØÐë±£´æÓÐÒ»¶¨Á¿µÄÔÓнéÖÊ£¬·½ÄÜÐγÉÑ»·½éÖʵÄÁ÷¶¯¡£¾ÊÔÑé±íÃ÷£¬ÔÚ·À±¬´¢¹ÞÄÚ±£Áô1/4-1/5ÈÝ»ýµÄ´¢´æ½éÖÊ¡£
±¾×°ÖõÄÁíÒ»¸öÌØµãÊÇ£ºÔÚ·À±¬´¢¹ÞÄÚ´ÙʹÓÍ¡¢ÎÛ´óÑ»·µÄÎüÓ͹ܺÍÅçÉä¹ÜÓ¦ÊÂÏÈ(¼´¶Ô´¢¹Þ½øÐÐ×è¸ô·À±¬¼¼Êõ¸ÄÔìʱ)°²×°ÔÚ·À±¬´¢¹ÞÄÚ¡£ÔÚ¶Ô·À±¬´¢¹Þ½øÐÐÇåϴʱ£¬¿É´ó´ó¼ò»¯²Ù×÷¹ý³ÌºÍÇåϴʱ¼ä¡£ÕâÀïҪ˵Ã÷µÄÊÇ£ºÔÚ´¢Ó͹޽øÐÐ×è¸ô·À±¬¼¼Êõ¸ÄÔìʱ£¬ÎüÓ͹ܺÍÅçÉä¹ÜÁ¬½ÓµÄ¿ìËÙ½ÓÍ·×îºÃ¿¿½ü·À±¬´¢¹ÞÈ˿׸ǵÄϲ¿Î»Ö㬷½±ãÓë¹ÞÍâµÄÇåÎÛÉ豸Á¬½Ó¡£
×°ÖõÄÓŵãÔÚÓÚ£º
1¡¢±¾×°ÖõÄÇåÎÛ»úÀíÊDzÉÓÃÎïÀíÇåÎÛ·½·¨½øÐеġ£ÇåÎÛʹÓõĽéÖÊΪԷÀ±¬´¢¹Þ´¢´æµÄ½éÖÊ£¬ÓɽéÖÊЯ´øÓÍÎÛ±»ÊäË͵½×Ô¶¯ÇåÏ´¹ýÂËÆ÷½øÐÐÓÍ¡¢ÎÛ·ÖÀë¡£²»ÊDzÉÓû¯Ñ§µÄÊֶΣ¬²»ÓÃÈ黯¼Á(Èܽâ¼Á)¶ÔÓÍÎÛ½øÐÐÈܽ⡢ϡÊÍ£¬²»½øÐжþ´ÎÈܽâ¼ÁÓëÓÍÎ۵ķÖÀë(»¹ÓдóÁ¿Ë®·ÖÀëµÈ)¡£Óɴ˱¾×°Öôó´ó¼ò»¯ÇåÎ۵Ĺý³ÌºÍʱ¼ä£¬½ÚÔ¼³É±¾£¬»·±£¡¢²»ÎÛȾ¿ÕÆø¡£
2¡¢±¾×°ÖòÉÓÃµÄÆø¶¯¸ôĤ±ÃÊÇÓÉѹËõ¿ÕÆø×÷Ϊ¶¯Á¦µÄ£¬²»»á²úÉúµç»ð»¨£¬×÷Òµ°²È«¡£ÓÉÓÚ¸ôĤ±ÃÊäËÍÒºÌåµÄÕ³¶È½ÏΪ¹ã·º£¬¿Éͨ¹ýÖ±¾¶Îª10ºÁÃ×ÒÔϵĿÅÁ££¬Í¨¹ýÐÔÄܺã¬ÇÒ¸ôĤ±ÃÊäË͵ĽéÖÊÓë´«¶¯»úе¼þ·Ö¿ª£¬½éÖʲ»»áй¶£¬¶ÔÊäËÍÒ×ȼ¡¢Ò×±¬½éÖʰ²È«¡¢¿É¿¿¡£
3¡¢±¾×°ÖòÉÓÃ×Ô¶¯ÇåÏ´¹ýÂËÆ÷µÄ¹ýÂËÍøÎªÁ½²ã£º´ÖÂËÍø+ϸÂËÍø£¬ÓÍÄà¿ÅÁ£Îª0.02ºÁÃ×µÄÎÛÄà¾ÍÄܱ»½ØÁôÏÂÀ´£¬¹ýÂËЧ¹ûºÃ¡£ÓÈÆäµ±Æä³öÏÖ½ø¿Ú±íѹ´óÓÚ³ö¿Ú±íѹʱ£¬×Ô¶¯ÇåÏ´¹ýÂËÆ÷µÄ·´³åµç»úÆô¶¯£¬½«¶Ô¸½×ÅÔÚ¹ýÂËÍøÉϵÄÓÍÄàÇ¿ÐÐÅųö£¬ÇåÏ´³Ì¶È¸ß¡£
4¡¢±¾×°ÖõĽṹ²¼¾ÖºÏÀí£¬Í¶×ÊС£¬¼ûЧ¿ì¡£
5¡¢±¾×°ÖÃרÃÅΪÕâÒ»ÌØÊâ½á¹¹µÄ·À±¬´¢¹Þ½øÐÐÑÐÖÆµÄÇåÎÛÉ豸¡£Ëü½â¾ö·À±¬´¢¹ÞÄÚ³Á»ýÓÍÎÛµÄÇåÎÛ¼¼ÊõÄѹأ¬ËüΪ×è¸ô·À±¬¼¼ÊõÍÆ½øµ½Ò»¸öеļ¼Êõ½×¶Î£¬ËüÊÇĿǰ¹úÄÚ½øÐÐ×è¸ô·À±¬¼¼Êõ¸ÄÔìµÄÓÖÒ»´Î¸ïÃü¡£
±¾·¢Ã÷»¹Éæ¼°µ½½èÓ÷À±¬´¢¹ÞÄÚ´¢´æµÄ½éÖʽøÐÐÑ»·Ê½ÇåÎ۵ķ½·¨ÊÇ£º
1¡¢¿ªÆôÈ˿׸ǣ¬Ó÷À±¬¹¤¾ß²ðжÈ˿׸Ǽ°Ïà¹Ø¹Ü·¡¢·¨À¼¡¢ÂÝË¿µÈ£¬½«²ðжµÄ¹Ü·£¬ÓÃä°åäס¡£
2¡¢ÒÀ´ÎÈ¡³öÊú¾®ÄÚµÄÎüÓ͹ܺÍÅçÉä¹Ü·À»¤Í²ÒÔ¼°Êú¾®ÄÚÕÚµ²ÎüÓ͹ܺÍÅçÉä¹Ü¿ìËÙ½ÓÍ·¸½½üµÄ·À±¬²ÄÁÏ£¬È¡·À±¬²ÄÁÏʱӦʹÓÃרÓù¤¾ß¡£
3¡¢½«Á¬½ÓÓÐÆø¶¯¸ôĤ±Ã½øÓͿڵÄÈí½º¹ÜµÄ¿ìËÙ½ÓÍ·ºÍÁ¬½ÓÓÐ×Ô¶¯ÇåÏ´¹ýÂËÆ÷³öÓÍ¿ÚÈí½º¹ÜµÄ¿ìËÙ½ÓÍ··Ö±ðÓëÎüÓ͹ܺÍÅçÉä¹Ü¿ÚµÄ¿ìËÙ½ÓÍ·¶Ô½Ó¡£
4¡¢¿ªÊ¼Æô¶¯Ñ»·ÇåÏ´×÷Òµ£º
4.1½ÓͨÍâ½ÓµçÔ´£¬µçÆ÷¿ØÖƹñ¸øµç£»
4.2Æô¶¯¿ÕÆøÑ¹Ëõ»ú£¬´ýѹËõ»ú´¢Æø¹ÞѹÁ¦´ïµ½0.6Mpaʱ£¬´ò¿ª¿ÕÆøÑ¹Ëõ»úµÄ³öÆø·§ÃÅ£»
4.3»ºÂý¿ªÆô¸ôĤ±Ã½øÆø·§£¬²»¿ÉͻȻ½«·§ÃÅÈ«²¿´ò¿ª£¬·ÀÖ¹Ë𻵱ÃĤ£»
4.4Æø¶¯¸ôĤ±ÃÔÚ³éÎü¹ý³ÌÖУ¬ËæÊ±½øÐй۲Ⲣ¼àÊÓ´Ó·À±¬´¢¹ÞÄÚ³éÎü³öÀ´ÓÍÎÛ×´¿ö¡£
4.5µ±×Ô¶¯ÇåÏ´¹ýÂËÆ÷µÄ½ø¿Ú±íѹ´óÓÚ³ö¿Ú±íѹʱ£¬Ó¦½øÐÐÅÅÎÛ×÷Òµ£¬¾ßÌå²Ù×÷²½ÖèÈçÏ£º
(1)¹Ø±ÕÆø¶¯¸ôĤ±ÃµÄ½øÆø·§£¬Æø¶¯¸ôĤ±ÃÍ£Ö¹¹¤×÷£»
(2)¹Ø±Õ×Ô¶¯ÇåÏ´¹ýÂËÆ÷µÄ½ø¡¢³ö¿Ú·§ÃÅ£»
(3)¿ªÆô¹ýÂ˵ç»ú£»
(4)3-5Ãëºó£¬´ò¿ª¹ýÂËÆ÷ÅÅÎÛ·§£¬½«ÎÛÓÍÅÅ·ÅÔÚÇåÎÛÈÝÆ÷ÄÚ£»
(5)ÅÅÎÛ½áÊøºó£¬¹Ø±ÕÅÅÎÛ·§£»
(6)´ò¿ª×Ô¶¯ÇåÏ´¹ýÂËÆ÷µÄ½ø¡¢³ö¿Ú·§ÃÅ£»»ºÂý´ò¿ªÆø¶¯¸ôĤ±ÃµÄ½øÆø·§£¬ÖØÐ½øÐÐÑ»·ÇåÏ´×÷Òµ¡£
5¡¢ËæÊ±¼ì²éÇåϴЧ¹û£¬×Ô¶¯ÇåÏ´¹ýÂËÆ÷µÄ½ø¿Ú´¦ÌáÈ¡ÑùÆ·£¬Í¨¹ý¹Û²ìÑùÆ·µÄ´¿¾»¶È¼°Ðü¸¡ÎïµÈ£¬¼ì²é·À±¬´¢¹ÞµÄÇåÎÛ×´¿ö¡£
6¡¢È·ÈÏÇåϴЧ¹û´ïµ½±ê׼ʱ£¬Í£Ö¹ÇåÏ´×÷Òµ¡£
7¡¢²ðжÓëÆø¶¯¸ôĤ±ÃºÍ×Ô¶¯ÇåÏ´¹ýÂËÆ÷ÓëÅçÉä¹ÜºÍÎüÓ͹ÜÁ¬½ÓµÄ¿ìËÙ½ÓÍ·£¬ÔÚ³·³ö¿ìËÙ½Óͷ֮ǰ£¬Ó¦Òª½«¹ÜÄÚ²ÐÓÍÅųö¸É¾»¡£
8¡¢°²×°ÅçÉä¹ÜºÍÎüÓ͹ÜÍâÉèµÄ»¤Í²¼°·À±¬²ÄÁÏ¡£
9¡¢°²×°·À±¬´¢¹ÞµÄÈ˿׸ǣ¬³·³ýä°å£¬Á¬½ÓºÃ¸÷¹Ü·£¬ÏÖ³¡»Ö¸´µ½×÷ҵǰ״̬¡£
±¾ÇåÎÛ·½·¨µÄÓŵãÔÚÓÚ£º
1¡¢´ËÇåÎÛÊÖ¶ÎÊÇʹÓÃÔ·À±¬´¢¹Þ´¢´æµÄ½éÖÊ£¬Óô˽éÖÊЯ´øµÄÓÍÎÛ±»ÊäË͵½×Ô¶¯ÇåÏ´¹ýÂËÆ÷½øÐÐÓÍÎÛ·ÖÀ룬´ó´ó½ÚÔ¼³É±¾£¬¼ò»¯¹ý³Ì£¬½Úʡʱ¼ä£¬»·±£¡¢²»ÎÛȾ¿ÕÆø¡£
2¡¢±¾ÇåÎÛʹÓõÄÉ豸ÈçÆø¶¯¸ôĤ±ÃµÄ¶¯Á¦Ô´ÎªÑ¹Ëõ¿ÕÆø£¬²»»á²úÉúµç»ð»¨£¬¸ôĤ±ÃÊäË͵ĽéÖÊÓë´«¶¯»úе¼þ·Ö¿ª£¬½éÖʲ»»áй¶£¬¶ÔÊäËÍÒ×ȼ¡¢Ò×±¬ÓÍ¡¢ÆøÊ®·Ö°²È«£¬¿É¿¿¡£±¾ÇåÎÛÉ豸ʹÓõÄ×Ô¶¯ÇåÏ´¹ýÂËÆ÷¹ýÂËЧ¹ûºÃ¡£
3¡¢±¾ÇåÎÛ·½·¨ÊÊÓ¦ÓÚ´óÐÍÓÍ¿âµÄ´¢¹ÞÇåÎÛ´¦Àí£¬ÌØ±ðÊǾ¹ý×è¸ô·À±¬¼¼Êõ¸ÄÔìµÄÓͿ⣬ֻҪ½«±¾×°ÖõÄÅçÉä¹ÜºÍÎüÓ͹ÜÔ¤ÏȰ²×°ÔÚÓ͹ÞÄÚ£¬¼´¿É½øÐÐÇåÎÛ×÷Òµ£¬´ó´ó½ÚÔ¼³É±¾£¬¼õÇáÀͶ¯Ç¿¶È¡£
¸½Í¼ËµÃ÷

ͼ1ΪÕûÌå½á¹¹Ê¾Òâͼ¼°Q-QÆÊÊÓͼ£»

ͼ2Ϊͼ1µÄ¸©ÊӽṹʾÒâͼ£»

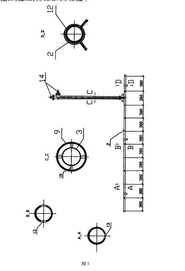
ͼ3ΪÅçÉä¹ÜºÍÎüÓ͹ܵÄ×éºÏ½á¹¹Ê¾Òâͼ¼°ÆäA-A£¬B-B£¬C-C£¬D-DÆÊÃæÊ¾Òâͼ¡£
Æä1·À±¬´¢¹Þ£¬2ÅçÉäºá¹Ü£¬3ÅçÉäÊú¹Ü£¬4Æø¶¯¸ôĤ±Ã£¬5×Ô¶¯ÇåÏ´¹ýÂËÆ÷£¬6Èí½º¹Ü£¬7ÇåÎÛÈÝÆ÷£¬8ÊÖÍÆ³µ£¬9ÎüÓ͹ܣ¬10ÇåÎÛËíµÀ£¬11ÎüÓͿڣ¬12¿¨¹¿£¬13ÅçÓͿڣ¬14¿ìËÙ½ÓÍ·£¬15¿ÕÆøÑ¹Ëõ»ú£¬16µçÆ÷¿ØÖƹñ£¬17ÊÖÍÆ±ú£¬18½î£¬19¸ßÑ¹Æø¹Ü¡£
¾ßÌåʵʩ·½Ê½
±¾·À±¬´¢¹ÞµÄÇåÎÛ×°ÖðüÀ¨ÓÐÆø¶¯¸ôĤ±Ã4¡¢×Ô¶¯ÇåÏ´¹ýÂËÆ÷5ºÍÇåÎÛÈÝÆ÷7ÒÔ¼°ÅçÓ͹ܺÍÎüÓ͹Ü9¡£Æø¶¯¸ôĤ±Ã4¡¢×Ô¶¯ÇåÏ´¹ýÂËÆ÷5ºÍÇåÎÛÈÝÆ÷7°²×°ÔÚÊÖÍÆ³µ8ƽ°åÉÏ£¬ÅçÓ͹ܺÍÎüÓ͹Ü9ÉèÖÃÔÚÂñµØÊ½·À±¬´¢¹Þ1ÄÚ¡£Æø¶¯¸ôĤ±Ã4µÄ½øÓÍ¿Úͨ¹ýÈí½º¹Ü6Á¬½ÓÎüÓ͹Ü9µÄ³öÓͿڣ¬×Ô¶¯ÇåÏ´¹ýÂËÆ÷5³öÓÍ¿Úͨ¹ýÈí½º¹Ü6Á¬½ÓÅçÓ͹ܵĽøÓͿڣ¬Æø¶¯¸ôĤ±Ã4µÄ½øÓͿںÍ×Ô¶¯ÇåÏ´¹ýÂËÆ÷5³öÓÍ¿ÚÓëÅçÉä¹ÜºÍÎüÓ͹ÜÁ¬½ÓµÄ¿ìËÙ½ÓÍ·14¾ùΪÒõ¡¢Ñô¿ìËÙ½ÓÍ·¡£Æø¶¯¸ôĤ±Ã4³öÓÍ¿ÚÓë×Ô¶¯ÇåÏ´¹ýÂËÆ÷5½øÓÍ¿Úͨ¹ýÈí½º¹Ü6ÏàÁ¬½Ó£¬×Ô¶¯ÇåÏ´¹ýÂËÆ÷5϶ËÓÍÎÛ³ö¿Ú¾Èí½º¹Ü6ͨÈëµ½ÇåÎÛÈÝÆ÷7ÄÚ¡£
±¾×°ÖòÉÓÃµÄÆø¶¯¸ôĤ±Ã4ÐͺÅΪWILDEN PV 800(¿Ú¾¶Îª2″)¡£¸ÃÆø¶¯¸ôĤ±ÃÊÇÓÉÒ»ÖÖÓÉĤƬÍù¸´±äÐÎÔì³ÉÈÝ»ý±ä»¯µÄÈÝ»ý±Ã£¬ËüÊÇÓÉ¿ÕÆøÑ¹Ëõ»úµÄѹËõ¿ÕÆø×÷Ϊ¶¯Á¦µÄ£¬²»»á²úÉúµç»ð»¨£»Í¬Ê±£¬¸ôĤ±ÃÊäË͵ĽéÖÊÓë´«¶¯»úе¼þ·Ö¿ª£¬´«Ë͵ĽéÖʲ»»áй¶£¬¶ÔÊäËÍÒ×ȼ¡¢Ò×±¬ÓÍ¡¢Æø½éÖÊÊÇÊ®·Ö°²È«µÄ¡£Æø¶¯¸ôĤ±Ã4×î´óÊäËÍÁ÷ÌåµÄÁ÷Á¿Îª155GPM(587LPM)£¬×î´óµÄ¹¤×÷ѹÁ¦Îª125PSI(8.6Bar)¡£¸Ã¸ôĤ±ÃÊäËÍÒºÌåµÄÕ³¶È½ÏΪ¹ã·º£¬¿Éͨ¹ý×î´óÖ±¾¶Îª10ºÁÃ×ÒÔϵĿÅÁ££¬Í¨¹ýÐÔÄܺã¬Òò´ËÔÚΣ»¯Æ·µÄÓÍ¡¢ÆøÊäËͱô󶼲ÉÓÃÆø¶¯¸ôĤ±Ã¡£
±¾×°ÖòÉÓÃ×Ô¶¯ÇåÏ´¹ýÂËÆ÷5ÐͺÅΪXL-SQ-50¡£×Ô¶¯ÇåÏ´¹ýÂËÆ÷5ÓɹýÂËÆ÷±¾Ìå¡¢¹ýÂËÍø¡¢³åÏ´·§¼°³åÏ´¿ØÖÆÆ÷µÈ×é³É¡£·À±¬´¢¹ÞÄÚµÄÓÍÎÛ»ìºÏÁ÷Ì徯ø¶¯¸ôĤ±ÃÊäË͵½×Ô¶¯ÇåÏ´¹ýÂËÆ÷½øÐйýÂË£¬Ê×ÏÈͨ¹ý´ÖÂËÍø£¬È»ºóÔÙ½øÈëϸÂËÍø£¬ÓÍÄàÓɴ˽«±»½ØÁôÏÂÀ´¡£±¾×Ô¶¯ÇåÏ´¹ýÂËÆ÷µÄ´ÖÂËÍøÑ¡Îª80Ä¿£¬Ï¸ÂËÍø²ÉÓÃ120Ä¿£¬¹ýÂËЧ¹ûºÃ¡£ÓÈÆäÊÇ´óÁ¿ÓÍÄ༯¾ÛÔÚϸÂËÍøÉÏʱ£¬Ê¹ÂËÍøµÄÄÚ±íÃæÓëÍâ±íÃæÐγÉѹ²î£¬¼´É豸ÔÚ³öÏÖ½ø¿Ú±íѹ´óÓÚ³ö¿Ú±íѹʱ£¬¾ÍÒª½øÐÐÅÅÎÛ×÷Òµ£»Æô¶¯×Ô¶¯ÇåÏ´¹ýÂËÆ÷µÄ·´³å¹ýÂ˵ç»ú(¹¦ÂÊΪ0.55kw)£¬²úÉúÒ»¹ÉÎüÁ¦Ç¿¾¢µÄ·´³åÁ¦£¬¹ýÂËÆ÷ÉϵÄÎü×콫¸½×ÅÂËÍøÉϵÄÓÍÎÛ¼£ÎüÏÂÀ´³Á»ýÔڵײ¿£¬²¢ÓÉ·§ÃŽ«ÎÛÄàÅųö¡£
ËùÊöµÄÅçÓ͹ÜÓÉÅçÉäÊú¹Ü3ºÍÅçÉäºá¹Ü2¹¹³É£¬ÅçÉäÊú¹Ü3ºÍÅçÉäºá¹Ü2¹¹³ÉTÐ͹ܣ¬¹Ü¾¶¾ùÓÉΦ50ºÁÃ׵IJ»Ðâ¸Ö¹ÜÖÆ³É¡£ÔÚÅçÉäÊú¹Ü3µÄÍⲿÉèÖÃÓÐͬÐĵÄÎüÓ͹Ü9£¬ÎüÓ͹Ü9²ÉÓÃΦ100ºÁÃ׵IJ»Ðâ¸Ö¹Ü¡£ÅçÉäÊú¹Ü3ÓëÎüÓ͹Ü9Ö®¼äÁ¬½ÓÓнî18¡£ÅçÉäÊú¹Ü3É϶˿ڴ©¹ýÎüÓ͹Ü9²à±ÚÒÔ¼°ÎüÓ͹Ü9µÄÉ϶˿Úͨ¹ý·¨À¼·Ö±ðÁ¬½ÓÓпìËÙ½ÓÍ·14£¬ÅçÉäÊú¹Ü3ºÍÎüÓ͹Ü9ÉèÓп¨¹¿ÓëÊú¾®µÄ¿ò¼ÜÏà¹Ì¶¨¡£ÅçÉäÊú¹Ü3ºÍÎüÓ͹Ü9϶Ëͬʱ´©¹ýÇåÎÛËíµÀ10µÄ¹Ü±Ú£¬ÅçÉäÊú¹Ü3϶ËÓëÅçÉäºá¹Ü2Õý½»Á¬½Ó£¬ÇÒÅçÉäÊú¹Ü3ºÍÎüÓ͹Ü9ÖмäÓз¨À¼Á¬½Ó£¬±ãÓÚ°²×°¡£
ÅçÉäºá¹Ü2ÉèÖÃÔÚÇåÎÛËíµÀ10ÄÚ£¬ÔÚÎüÓ͹Ü9µÄδ¶ËÁ¬½ÓÓÐÀ©ÕÅÐÎÎüÓÍ¿Ú11£¬ÎüÓÍ¿Ú11ÉèÔÚÇåÎÛËíµÀ10ÄÚ¡£
ΪÁ˱ãÓÚ¼Ó¹¤£¬ËùÊöµÄÅçÉäÊú¹Ü3ºÍÎüÓ͹Ü9¿ÉÉèÖÃΪÁ½ÌõƽÐйܣ¬Á½Ö§¹ÜÖ®¼äÉèÓп¨¹¿ÏàÁ¬½Ó²¢Óë·À±¬´¢¹ÞÄÚÉèÖÃÊú¾®µÄ¿ò¼ÜÏà¹Ì¶¨£¬Æä϶Ëͬʱ´©¹ý·À±¬´¢¹ÞÄÚµÄÇåÎÛËíµÀ10£¬ÇåÎÛËíµÀ10Æðµ½¹Ì¶¨Ð§¹û¡£
±¾×°ÖõÄÎüÓ͹Ü9ºÍÅçÉä¹ÜÓ¦ÊÂÏȰ²×°ÔÚÂñµØÊ½·À±¬´¢¹Þ1ÄÚ£¬ÕâÑùÔÚ½øÐÐÇåϴʱ£¬¿É´ó´ó¼ò»¯²Ù×÷¹ý³ÌºÍÇåϴʱ¼ä¡£ÔÚ¶Ô´¢Ó͹޽øÐÐ×è¸ô·À±¬¼¼Êõ¸ÄÔìͬʱ£¬ÎüÓ͹Ü9ºÍÅçÉä¹Üͬʱ°²×°ÔÚ·À±¬´¢¹Þ1ÄÚ£¬ÎüÓ͹Ü9ºÍÅçÉäÊú¹Ü3µÄÍⲿÓÐÖпװåΧ³ÉµÄ»¤Í²£¬»¤Í²ÍâÓзÀ±¬²ÄÁÏ(»¤Í²¸½Í¼Î´ÏÔʾ)¡£ÎüÓ͹Ü9ºÍÅçÉä¹Ü3Á¬½ÓµÄ¿ìËÙ½ÓÍ·14Ó¦¿¿½ü·À±¬´¢¹Þ1µÄÈ˿׸Çϲ¿Î»Ö㬽«´ó´ó·½±ã¿ìËÙ½ÓÍ·µÄÁ¬½Ó¡£
ËùÊöµÄÅçÓͺá¹Ü2ÿ¼ä¸ô300-500ºÁÃ×µÄλÖÃÉèÖÃÓÐÒ»ÅçÓÍ¿Ú13(±¾¸½Í¼¸ø³öÿ380ºÁÃ×ÉèÖÃÒ»ÅçÓͿڻòÒ»¶ÔÅçÓÍ¿Ú)¡£µÚһλÖõÄÅçÓÍ¿Ú13ÉèÖÃÔÚÅçÓͺá¹Ü2µÄµ×²¿£¬Ïà¼ÌµÚ¶þλÖõÄÅçÓÍ¿Ú13ÉèÖÃÅçÓͺá¹Ü2µÄ²à±ÚÉÏ£¬ÎªÁ½¸ö¶Ô³ÆµÄÅçÓÍ¿Ú13£¬Èç´Ë½»´í²¼Öã¬ÅçÓÍ¿ÚÖ±¾¶Ñ¡ÎªΦ20ºÁÃס£ÔÚÅçÉäºá¹Ü2Èý¸ö²»Í¬Î»Öú¸Óп¨¹¿12£¬¿¨¹¿12ÏÂÖ§½Å×ùÂäÔÚ·À±¬´¢¹Þ1µÄ¹Þµ×ÉÏ£»½»´íÉè¼ÆÅçÓÍ¿Ú13µÄλÖã¬ÆäÄ¿µÄÔÚÓÚÔöÇ¿ÇåÎÛËíµÀ10ÄÚÇå½àÓͽÁ¶¯ÓÍÄàµÄ³åÁ¦²¢ÐγÉÓÍ¡¢ÎÛ»ìºÏÁ÷£¬Í¬Ê±ÓÖÎüÓ͹Ü9Êܵ½Æø¶¯¸ôĤ±Ã4µÄÎüÁ¦£¬ÆÈʹÇåÎÛËíµÀ10ÄÚÓÍ¡¢ÎÛ»ìºÏÁ÷µÄÁ÷¶¯¡£
ÊÖÍÆ³µ8ƽ°åÊÇÓɲ۸ֺ¸½Ó³¤·½ÐοòÌ壬³¤¶ÈΪ1.5Ã××1.0Ã×£¬ÖмäÓмÓÇ¿½î£¬¿òÌåÉÏÆÌÉèÓв¨ÎƸְ壬²à±Úº¸ÓÐ∏ÐÍÊÖÍÆ±ú17£¬Ï²¿ÉèÓÐǰ¡¢ºó»¬ÂÖ£¬Á½Ç°ÂÖΪÍòÏòÂÖ£¬×ªÍä×ÔÓÉ¡£
Æø¶¯¸ôĤ±Ã4ÆøÔ´ÓÉ¿ÕÆøÑ¹Ëõ»ú15ÌṩµÄ£¬¿ÕÆøÑ¹Ëõ»ú15µÄµçÔ´ÊÇÓÉÊÖÍÆ³µ8ÉÏÉèÖõĵçÆ÷¿ØÖƹñ16ÌṩµÄ£»Í¬Ñù£¬×Ô¶¯ÇåÏ´¹ýÂËÆ÷5µç»ú¶¯Á¦Ò²ÊÇÓɵçÆ÷¿ØÖƹñ16ÌṩµÄ¡£
ËùÊöµÄÇåÎÛÈÝÆ÷7ΪÊÖÌáСͰ¡£µ±ÓÍÄà¶ÑÂúʱ£¬¿É·½±ãµØµ¹ÈëÔÚÓÍÄàÊÕ¼¯Æ÷£¬Ò»Í¬ËÍÍùÊÕ¼¯Õ¾½øÐд¦Àí¡£
ÅçÓͺá¹Ü2³¤¶ÈÊǸù¾Ý²»Í¬ÈÝ»ý·À±¬´¢¹Þ1µÄ¹ÞÌ峤¶È(³ýÈ¥·âÍ·)À´¾ö¶¨µÄ£»ÀýÈç¹ÞÈÝΪ20M3µÄ·À±¬´¢¹Þ(¹ÞÌåÖ±¾¶Îª2.5Ã×)£¬ÅçÓͺá¹ÜµÄ³¤¶ÈΪ3.8Ã×£»¹ÞÈÝΪ50M3µÄ·À±¬´¢¹Þ(¹ÞÌåÖ±¾¶Îª2.5Ã×)£¬ÅçÓͺá¹ÜµÄ³¤¶ÈΪ9.8Ãס£ÅçÓͺá¹Ü2ÔÚ·À±¬´¢¹ÞÄÚ½øÐа²×°Ê±£¬ÓÉÓÚÊܵ½¹ÞÌåÈ˿׳ߴçµÄÏÞÖÆ£¬¿É½«ÅçÓͺá¹Ü2·Ö¶Î¼Ó¹¤£¬ÏÖ³¡×é×°¡£
¶ÔÓÚÒѾ½øÐÐ×è¸ô·À±¬¼¼Êõ¸ÄÔìµÄ·À±¬´¢¹Þ£¬¹ÞÄÚûÓÐÅçÉä¹ÜºÍÎüÓ͹ܵÄÇé¿öÏ£¬Òª½øÐÐÏÖ³¡°²×°¡£
°²×°¹ý³ÌÊÇÕâÑùµÄ£º
Ô¤ÏȵÃÖª·À±¬´¢¹ÞÄڵĴ洢ÓÍ(½éÖÊ)ʹÓõ×Ïß(¼´¼ÓÓÍ»ú³é²»µ½ÓÍΪֹ£¬Èç25M3µÄ·À±¬´¢ÆûÓ͹ޣ¬Ê£ÓàÓÍÁ¿Ô¼Îª0.8M3)¡£´Ëʱ´ò¿ª·À±¬´¢¹Þ1È˿׸ǣ¬½«Êú¾®ÄڵķÀ±¬²ÄÁϺÍÊú¾®Ï²¿µÄÇåÎÛËíµÀ10ÒÆ³ö¹ÞÍ⣻½«ÎüÓ͹Ü9(×îºÃʹÓõ¥¸öÎüÓ͹Ü)²åÈëµ½ÇåÎÛËíµÀ10ÄÚ£¬Æô¶¯Æø¶¯¸ôĤ±Ã4½«ÇåÎÛËíµÀ10ÄÚÊ£ÓàÓÍÎÛÊäË͸ø×Ô¶¯ÇåÏ´¹ýÂËÆ÷5½øÐйýÂË£¬¹ýÂ˺óµÄÇå½àÓͲ»ËͻطÀ±¬´¢¹Þ£¬ÁíÍâ´¢´æµ½ÈÝÆ÷ÄÚ£¬Ö±µ½½«ÇåÎÛËíµÀÄÚµÄÓÍÎÛ³éÍêΪֹ¡£È»ºó½«Éè¼Æ¶à¶ÎµÄÅçÉäºá¹Ü2·ÅÈëµ½ÇåÎÛËíµÀ10ÄÚ¡£ÓÉÓÚÊú¾®µÄ³ß´çÓÐÏÞ£¬ÅçÉäºá¹Ü2ÖмäÉè¼ÆÎªÄÜͨ¹ýÊú¾®·ÅÈëµ½ÇåÎÛËíµÀ10ÄÚΪºÃ£¬ÆäÓàÁ½¶Î»ò¶à¶ÎµÄÅçÉäºá¹ÜÓëÖмä¶ÎÅçÉäºá¹ÜÓöԽӹÜÍ·¶Ô½ÓÒ»Ì壬²¢Óÿ¨¹¿¹Ì¶¨ºÃÇåÎÛËíµÀ10ÄÚ£¬ÔÙ½«ÅçÉäÊú¹Ü2ºÍÎüÓ͹Ü9ÓëÆäÁ¬½Ó(ÈçʹÓÃͬÐĵÄÅçÉäÊú¹Ü3ºÍÎüÓ͹Ü9ÊÇÓ¦½«µ¥¸öÎüÓ͹ÜÈ¡³ö)£¬²¢½«ÓëÊú¾®¹Ì¶¨ºÃ£¬Í¬ÐĵÄÅçÉäÊú¹Ü3ºÍÎüÓ͹Ü9¿ìËÙ½ÓÍ·14Ó¦ÓÉä°å±£»¤¡£ÕâÀï˵Ã÷µÄÊÇͬÐÄÉèÖõÄÅçÉä¹ÜºÍÎüÓ͹ÜÖ»Êǰ²×°µ½Î»£¬ÎªÏÂÒ»´ÎÇåÎÛ×÷ҵʹÓõġ£
±¾·¢Ã÷»¹Ìṩ½èÓ÷À±¬´¢¹ÞÄÚ´¢´æµÄ½éÖʽøÐÐÑ»·Ê½ÇåÎ۵ķ½·¨£¬ÔÚ½øÐжԷÀ±¬´¢¹Þ½øÐÐÇåÎÛ×÷ҵʱ£¬Ê×ÏÈÒª¼ì²é·À±¬´¢¹ÞÄڵĴ¢´æÓÍÁ¿±ØÐë±£Áô1/4-1/5ÈÝ»ý£»ÔÙÔòÆø¶¯¸ôĤ±Ã4ºÍ×Ô¶¯ÇåÏ´¹ýÂËÆ÷5µÄ¿ìËÙ½ÓÍ·ÓëÎüÓ͹Ü9ºÍÅçÉä¹Ü¿ìËÙ½ÓÍ·ÁªÍ¨ºó£¬±ØÐë¼ì²é¸÷¹Ü·µÄÃÜ·âÐÔÄÜ£¬ÎÞÓÍ¡¢ÆøÐ¹Â¶£¬·½¿É×÷Òµ£¬Ä¿µÄÈ·±£Ê©¹¤×÷Òµ¡¢»·¾³µÄ°²È«¡£
±¾×°ÖýèÓ÷À±¬´¢¹ÞÄÚ´¢´æµÄ½éÖʽøÐÐÑ»·Ê½ÇåÎ۵ķ½·¨ÊÇ£º
1¡¢¿ªÆô·À±¬´¢¹Þ1µÄÈ˿׸ǣ¬Ó÷À±¬¹¤¾ß²ðжÈ˿׸Ǽ°Ïà¹Ø¹Ü·¡¢·¨À¼¡¢ÂÝË¿µÈ£¬½«²ðжµÄ¹Ü·£¬ÓÃä°åäס¡£
2¡¢ÒÀ´ÎÈ¡³öÎüÓ͹Ü9ºÍÅçÉäÊú¹Ü3ÍâµÄ·À»¤Í²ºÍ·À±¬²ÄÁÏ£¬È¡³öÎüÓ͹ܺÍÅçÉä¹Ü¿Ú¿ìËÙ½ÓÍ·14µÄä°å¡£
3¡¢½«Æø¶¯¸ôĤ±Ã4½øÓÍ¿ÚÈí½º¹ÜµÄ¿ìËÙ½ÓÍ·¼°×Ô¶¯ÇåÏ´¹ýÂËÆ÷5³öÓͿڵĿìËÙ½ÓÍ··Ö±ðÓëÎüÓ͹Ü9ºÍÅçÉäÊú¹Ü3µÄ¿ìËÙ½ÓÍ·Ïà¶Ô½Ó£¬Í¬Ê±¼ì²é¸÷Ó͹Ü·Á¬½Ó´¦µÄÃÜ·âÐÔÄÜ(ÕâÀïÎüÓ͹ܺÍÅçÉä¹Ü¿ÚµÄ¿ìËÙ½ÓÍ·ÒѾ°²×°ÔÚ·À±¬´¢¹ÞÄÚ)¡£
4¡¢¿ªÊ¼Æô¶¯Ñ»·ÇåÏ´×÷Òµ
4.1½ÓͨÍâ½ÓµçÔ´£¬µçÆ÷¿ØÖƹñ16¸øµç£»
4.2Æô¶¯¿ÕÆøÑ¹Ëõ»ú15£¬´ýѹËõ»ú´¢Æø¹ÞѹÁ¦´ïµ½0.6Mpaʱ£¬´ò¿ª¿ÕÆøÑ¹Ëõ»úµÄ³öÆø·§Ãž¸ßÑ¹Æø¹Ü19¸øÆø¶¯¸ôĤ±Ã4ËÍÆø¡£
4.3»ºÂý¿ªÆôÆø¶¯¸ôĤ±Ã4½øÆø·§£¬²»¿ÉͻȻ½«·§ÃÅÈ«²¿´ò¿ª£¬·ÀÖ¹Ë𻵱ÃĤ¡£
4.4Æø¶¯¸ôĤ±Ã4¹¤×÷£¬²¢½øÐгéÎü·À±¬´¢¹ÞÄÚµÄÓÍ¡¢ÎÛ£¬ÕâÊ±Æø¶¯¸ôĤ±Ã4³é³öÀ´ÊÇÓͽéÖÊ(ûÓÐÓÍÄà)£¬¸Ã½éÖÊÊäË͵½×Ô¶¯ÇåÏ´¹ýÂËÆ÷5ʱ£¬»¹Ã»ÓÐÓÍÄà³öÏÖ£¬´ý½«´Ë½éÖʾÅçÉä¹ÜÓÉÅçÉä¹Ü¿Ú13Åç³öʱ£¬½«½Á¶¯ÓÍ¡¢ÎÛµÄÁ÷¶¯ÐγɻìºÏÁ÷£¬»ìºÏÁ÷ЯͬÓÍÎÛ±»Æø¶¯¸ôĤ±Ã4³éÎü²¢Í¨¹ý×Ô¶¯ÇåÏ´¹ýÂËÆ÷5½øÐйýÂË£¬ÊµÏÖÓÍ¡¢ÎÛ·ÖÀ룬·ÖÀë³öÀ´µÄÇå½àÓÍÓÖ±»Ë͵½·À±¬´¢¹ÞµÄÇåÎÛËíµÀ5ÄÚ¡£ÓÍÎÛÅųý×´¿öÓ¦ËæÊ±¼àÊÓÓÍÎÛ»ìºÏÁ÷»ë×dz̶ȡ£
4.5µ±×Ô¶¯ÇåÏ´¹ýÂËÆ÷5µÄ½ø¿Ú±íѹ´óÓÚ³ö¿Ú±íѹʱ£¬½øÐÐÅÅÎÛ×÷Òµ¡£¾ßÌå²Ù×÷²½ÖèÈçÏ£º
(1)¹Ø±ÕÆø¶¯¸ôĤ±Ã4µÄ½øÆø·§£¬´ËÆø¶¯¸ôĤ±Ã4Í£Ö¹¹¤×÷£»
(2)¹Ø±Õ×Ô¶¯ÇåÏ´¹ýÂËÆ÷5µÄ½ø¡¢³ö¿Ú·§ÃÅ£»
(3)¿ªÆô¹ýÂ˵ç»ú£»Æô¶¯×Ô¶¯ÇåÏ´¹ýÂËÆ÷µÄ·´³åµç»ú£¬ÓɹýÂËÆ÷µÄÎü×콫¸½×ÅÂËÍøÉϵÄÓÍÎÛ¼£ÎüÏÂÀ´£¬²¢»ý¾ÛÔÚϲ¿´æ´¢Æ÷ÄÚ£»
(4)´ý3-5Ãëºó£¬´ò¿ª¹ýÂËÆ÷ÅÅÎÛ·§£¬½«ÎÛÓÍÅÅ·ÅÔÚÇåÎÛÈÝÆ÷7ÄÚ£»
(5)ÅÅÎÛ½áÊøºó£¬¹Ø±ÕÅÅÎÛ·§¡£
4.6ÖØÐ´ò¿ª×Ô¶¯ÇåÏ´¹ýÂËÆ÷5µÄ½ø¡¢³ö¿Ú·§ÃÅ¡£
4.7»ºÂý´ò¿ªÆø¶¯¸ôĤ±Ã4µÄ½øÆø·§£¬ÖØÐ½øÐÐÓÍÎÛÑ»·ÇåÏ´×÷Òµ¡£
5¡¢ËæÊ±¼ì²éÇåϴЧ¹û£¬´ò¿ª×Ô¶¯ÇåÏ´¹ýÂËÆ÷5ÉèÖõķ§ÃÅ£¬ÓÃÈ¡Ñù¹ÜÌáÈ¡ÑùÆ·£¬Í¨¹ý¹Û²ìÑùÆ·µÄ´¿¾»¶È¼°Ðü¸¡ÎïµÈ£¬¼ì²é·À±¬´¢¹ÞÄÚ³éÎü³öÀ´µÄÓÍÎÛÇåÎú×´¿ö£¬¿ÉÓëÔÓÍÆ·½éÖʶԱȣ¬»ò½øÐпìËÙ¼ì²â´Ó¶øÈ·¶¨·À±¬´¢¹ÞÄÚµÄÓÍÎÛ״̬¡£
6¡¢È·ÈÏÇåϴЧ¹û´ïµ½±ê×¼ºó£¬Í£Ö¹ÇåÏ´×÷Òµ¡£
7¡¢²ðжÓëÆø¶¯¸ôĤ±Ã4ºÍ×Ô¶¯ÇåÏ´¹ýÂËÆ÷5ÓëÅçÉä¹ÜºÍÎüÓ͹ÜÁ¬½ÓµÄ¿ìËÙ½ÓÍ·14£¬ÔÚ³·³ö¿ìËÙ½Óͷ֮ǰ£¬Ó¦Òª½«¹ÜÄÚ²ÐÓÍÅųö¸É¾»¡£
8¡¢°²×°ÅçÉä¹ÜºÍÎüÓ͹ÜÍâÉèµÄ»¤Í²¼°·À±¬²ÄÁÏ¡£
9¡¢°²×°·À±¬´¢¹ÞµÄÈ˿׸ǣ¬³·³ýä°å£¬Á¬½ÓºÃ¸÷¹Ü·£¬ÏÖ³¡»Ö¸´µ½×÷ҵǰ״̬¡£
²úÆ·ÍÆ¼ö£º
¹ÜµÀÅÅÎ۱à http://www.94651.cn/productshow_22.html
|