¼¸ÄêÀ´Ëµ£¬ÖйúµÄ±Ã·§ÐÐÒµ×Ըĸ↑·ÅµÄ20¶àÄêÀ´ÓÐºÜ´ó½ø²½ºÍ·¢Õ¹£¬ÕâÒ»µã²»½ö½öÊÇÔÚ²úÁ¿²úÖµ£¬²úÄÜÉÏÌåÏÖ³öÀ´£¬ÔÚÆ·ÖÖ¹æ¸ñ»¹ÓÐ×ۺϼ¼ÊõˮƽÉ϶¼ÓÐÖ±½ÓµÄ±íÏÖ¡£ÐÐÒµ¸÷ÆóÒµÔÚÏÖ½ñÓ¦¸Ãץס»úÓö£¬µ÷Õû²úÆ·½ÚÄÜ£¬´óÁ¦Íƽø¼¼Êõ´´Ð£¬ÎªÎÒÃǹú¼ÒµÄ¹¤Òµ½¨É轨ÖþÎィÉèµÈ¾¼Ã½¨Éè¿ÆÑ§¼¼Êõ·¢Õ¹£¬¹ú·À¼¼ÊõÌáÉý×ö³ö׿ԽµÄ¹±Ïס£
1.¼¼Êõ¸ÄÔìÖͺó£¬Àϳ§·¿¡¢ÀÏÉ豸¡¢ÀϹ¤ÒÕÈÔÕ¼Ö÷Á÷£¬ËäÈ»½ü¼¸Ä꼸¸öÆóÒµ°áǨ¶øÓÐÁ˸Ĺۣ¬µ«ÕûÌåµÄÖÆÔìˮƽ¡¢¹¤ÒÕˮƽ¡¢¼ì²âˮƽÈÔ½ÏÂäºó£¬Óë¹úÍâͬÐÐÆóÒµÎÞ·¨Ïà±È¡£¾ÉÌåÖÆÒÅÁôÏÂÀ´µÄ¼¼Êõ¸ÄÔìÎÊÌ⣬¿ÖÄÑÔÚ¶ÌÆÚÄÚÓèÒÔÏû³ý¡£É豸µÄ³Â¾É¡¢µ¼Ö¹¤ÒÕµÄÂäºóºÍ²úƷˮƽµÄµÍÏ£¬ÕâÔÚÐÐÒµÄÚµÄÿ¸öÆóÒµ¼¸ºõ¶¼´æÔÚ¡£ÎÒ¹ú»úÐµÕæ¿Õ±ÃµÄÕûÌå¼¼Êõ²¢²»Âäºó£¬¶øÓÉÓÚ¹¤ÒÕÊֶεÄÂäºóµ¼ÖÂÐÔÄܵÍÏ¡£¾¡¹ÜһЩ³§¼Ò¹ºÖÃÁËÏȽøµÄÊý¿Ø¼Ó¹¤ÖÐÐÄ»òרÓõÄÊý¿Ø»ú´²£¬µ«×ÜÁ¿ÉÏÈÔÏÔ²»×㣬¹¤ÒÕµÄ×ÛºÏÄÜÁ¦ÈԸϲ»ÉϹúÍâͬÐС£µÂ¹úÀ³±¦¹«Ë¾ÔÚÌì½òµÄ¶þÆÚͶÈ룬ÎÞÂÛ´Ó³§·¿ÉèÊ©¡¢¹¤×÷³¡µØ¡¢ÖÆÔìÄÜÁ¦¡¢¼ì²âÊÖ¶ÎÎÞ²»·´Ó³Á˵±½ñÊÀ½çÒ»Á÷ˮƽ¡£¶øÎÒÃÇÐÐÒµÄÚµÄÄÇÒ»¼ÒÆóÒµÓÖÄÜÓëÖ®Ïà±ÈÄØ£¿É豸ÄÜÁ¦¡¢¹¤ÒÕÊÖ¶ÎÊÇÆóÒµ×î»ù±¾µÄ¾ºÕùÁ¦ËùÔÚ£¬Èç¹ûÎÒÃÇµÄÆóÒµÉÐÍ£ÁôÔÚ½ÏÔʼµÄÖÆÔìÊֶΣ¬ÆóÒµµÄ¾ºÕùÁ¦ºÎÔÚ£¿ÆóÒµµÄ½ñºó·¢Õ¹ºÎÔÚ£¡
2.Ñз¢ÄÜÁ¦²î£¬¿ÉÒÔ˵ûÓÐ×ʽðµÄͶÈë»òÖ»ÓÐÉÙÁ¿×ʽðµÄͶÈë¡£¼ÈʹÊÇËùνµÄвúÆ·Ñз¢£¬Ò²Ö»ÊÇ×߽߱ӵ¥£¬±ßÉè¼Æ£¬±ßÉú²úµÄģʽ£¬ÔÚijÖ̶ֳÈÉÏÔì³ÉÁËÉ豸ÐÔÄܵIJ»¿É¿¿ºÍ¹¤ÒյIJ»³ÉÊ죬¸ø¿Í»§µÄʹÓôøÀ´ÁËÒþ»¼¡£¹úÍâµÄͬÐÐÔÚÑз¢ÉÏͶÈë´óÁ¿µÄ×ʽ𣬽øÐйؼü¼þ¡¢»ù´¡¼þµÄÑÐÖÆ£¬½øÐй¤ÒÕµÄÃþË÷ºÍ¹Ì»¯£¬ÐγÉÁËijһ²úÆ·»òijһÁìÓòµÄÓÅÊÆ¡£´ýÎÒÃǽøÐÐÑз¢Ê±£¬Ò²Ö»ÄܸúÔÚ±ðÈ˵ĺóÃæÅÜ£¬¸ü̸²»ÉÏÔ´´ÐÍ£¬µ±¿ìÒª³ÉÊì»òÊг¡ÉÏÐγÉÒ»¶¨¾ºÕùÁ¦Ê±£¬±ðÈËÓÖÓг¤ÆÚÑз¢³É¹¦µÄ²úÆ·ÍÆÏòÊг¡£¬ÐγÉÁ˾ºÕùµÄÁ¼ÐÔÑ»·¡£
3.¹ÜÀí»úÖÆºÍģʽ²»ÊÊÓ¦ÏÖ´úÆóÒµµÄÐèÒª¡£¹úÓÐÌåÖÆµÄÓɹ¤³§»»ÅƵ½Ëùν¹«Ë¾Öƽ¨ÖÆÊ½£»¼Ò×åʽ»ò½øÕ¹µ½ÅóÓÑÖ®¼äµÄ¹É·ÝºÏ×÷ʽ£»ÎÞ²»·´Ó³ÁË×ö·»Ê½³Â¾ÉµÄ¹ÜÀíÀíÄ·´Ó³ÁËÒÔÈËÖÆ´úÌæ·¨¹æÖƵĪϰ¡£»úÖÆÐԵı׶˲»¿ÉÄÜ´Ù½øÆóÒµµÄ·¢Õ¹£¬ÏÖ´úÆóÒµÈýÏîÖÆ¶ÈµÄ¼¤ÀøÄ£Ê½²»¿ÉÄÜÔÚÆóÒµÖÐÓèÒԹ᳹¡£¼´Ê¹ÏÖÔÚÒѾ½øÐÐÁ˹ɷÝÖÆ¸ÄÔìµÄÆóÒµ£¬»òÊÇÒѾ»ñµÃÖйú»úе¹¤Òµ¹ÜÀíÏȽøµÄÆóÒµ£¬ÔÚ¹ÜÀíÉÏÈÔ´ó´óÂäºóÓÚÎ÷·½·¢´ï¹ú¼Ò¡£ÔÚÈÕ±¾Õæ¿ÕÐÐÒµµÄÉú²úÆóÒµÖУ¬Éú²ú×éÖ¯ÉϵĿ´°å¹ÜÀí£¬²úÆ·ÖÊÁ¿ÉϵÄPDCA¹ÜÀí£¬¹¤×÷ÏÖ³¡µÄ½à¾»¹ÜÀíµÈµÈ£¬ÎÞ²»ÌåÏÖÁËÏÖ´úÆóÒµµÄÎïÖÊÎÄÃ÷ºÍ¾«ÉñÎÄÃ÷£¬ÌåÏÖÁËÒÔÈËΪ±¾µÄ¿ÆÑ§ÀíÄî¡£
4.È˲ÅÎÊÌâ¡£ÕâÊÇÎÒÃÇÕæ¿ÕÉ豸ÐÐÒµÄËÖÁÕû¸ö»úе¹¤ÒµÆÕ±é´æÔڵĹ²ÐÔÎÊÌâ¡£¸ßËØÖÊ¿ªÍØÐ͵ļ¼ÊõÈËÔ±£¬Ò»¼¼Ö®³¤µÄÄܹ¤Çɽ³£¬¹ÜÀí¶À¾ßµÄ°×Áì½×²ã£¬¶¼ÏÔµÃØÒ·¦ºÍ×½½ó¼ûÖâ¡£¼¼ÊõÈËÔ±¡¢¼¼Êõ¹¤ÈË¡¢¹ÜÀíÈËÔ±ÊÇÖ§³ÅÆóÒµÉú´æµÄÈý¸ù»ùʯ£¬È±Ò»²»¿É¡£¶øÔÚÎÒÃÇµÄÆóÒµÀïÈýÖÖÈË²ÅÆÕ±é¶Ìȱ£¬ÄÇô¾ÍÈí»¯ÁËÆóÒµÉú´æµÄ»ù´¡¡£¾ÍÆóÒµ¶øÑÔ£¬Êг¡µÄÍØÕ¹¿¿²úÆ·£¬²úÆ·µÄ¿ª·¢¿¿È˲ţ¬È˲ŵĿª·¢¿¿»·¾³£¨Õþ²ß¡¢´ýÓö£©£¬ÔÚÕâ¸öÁ´ÌõÖУ¬ÈËÊǵÚһλµÄ£¬ÓÐÁËÈ˾ÍÓÐÁ˲úÆ·£¬ÓÐÁ˲úÆ·¾ÍÓÐÁËÊг¡¡£ÔÚ·¢´ï¹ú¼ÒµÄÆóÒµÀÀ¼°×ÁìÔ±¹¤µÄѧÀúˮƽÕýÔÚÖðÄêËõС£¬À¼ÁìÔ±¹¤µÄËØÖÊÆÕ±éÌá¸ß¡£ÔÚÎÒ¹ú£¬´óѧ±¾¡¢×¨¿Æ±ÏÒµµÄѧÉúÖÐÓжàÉÙÈËÈ¥¿ª»ú´²£¿ËäÈ»ÓÐµÄÆóÒµÕÐÈËÖÐÃ÷ÏԹ涨ijijѧÀúΪµ±¹¤È˸ڶøÉ裬µ«Âäʵµ½¸Ú»òÔÚ¸ÚλÉÏÁôÏÂÀ´³¤ÆÚ·îÏ×µÄÄÜÓм¸ÈË£¿ÎªÁËÆóÒµµÄ·¢Õ¹ÓëÉú´æ£¬Õæ¿ÕÉ豸ÐÐÒµÔÚÀ§ÄѵÄ×´¿öÏÂÈÔÒÔ²»±¡µÄ´ýÓöÔÚ²»¶ÏµØÎüÄÉ´óѧ±ÏÒµÉú£¬ÓÃÒÔ³äʵ¼¼ÊõÈËÔ±¶ÓÎéºÍÆóÒµµÄÑÓÐø¡£È»¶øÔÚÀ©ÕÐÒÔºóµÄ´óѧ±ÏÒµÉúÖУ¬×ÛºÏËØÖÊÆÕ±éµÍÏ£¬¶àÓÚ´ýÓö£¬ÉÙÓÚ·îÏ×£¬¶àÓÚ¿ÚÍ·£¬ÉÙÓÚʵ¼ùµÄÏÖÏóÆÕ±é´æÔÚ¡£Ò»Ì¨µçÄÔ¡¢Ò»ÃÅÍâÓï¾ÍÊÇËûѧҵµÄÈ«²¿¡£Ò»¸ö»úе¹¤¿ÆÔºÐ£±ÏÒµµÄѧÉú£¬Á¬ÆðÂëµÄ»úе¼Ó¹¤»ù´¡ÖªÊ¶¶¼²»¶®£¬Õâ¾Í·´Ó³ÁËÎÒÃǽÌÊéÓýÈËÖдæÔÚµÄÎÊÌâ¡£ÔÚÎÒÃÇÆóÒµÖУ¬½ü¼¸ÄêÒ²À´ÁËÐí¶à´óѧÉú£¬µ«Ò²×ßÁËһЩÈË£¬ÁôÏÂÀ´µÄÈËÓеÄÒѳÉÁ˹Ǹɣ¬×ßµÄÈË×ÔÈÏΪÔÚÐÐÒµÖÐÁ·Á˼¸Äê°Ñʽ£¬µ«Éç»áµÄÈϿɶÈÈçºÎ£¿´ó¼Ò×ÔÓй«ÂÛ¡£ÕæÕýÔÚ´óÑ§Ñ§Õæ¿Õרҵ±ÏÒµºó´ÓʲúÆ·Ñз¢µÄ£¬³äÆäÁ¿²»×ã25%£¬Õâ¾Í¸øÕæ¿ÕÉ豸ÐÐÒµ»ù´¡È˲ŵĻýÀÛ´øÀ´ÁËÒþ»¼¡£´ó¼Ò¶¼È¥×öÁ÷ͨ£¬´ó¼Ò¶¼È¥×ö´úÀí£¬Ñз¢ÕâÖÖ¼èÄѵŤ×÷ËÈ¥¸É£¿¼¼ÊõµÄÌáÉý¿¿È˲ţ¬¿¿È˲ŵÄ×ÛºÏËØÖÊ£¬¿¿¸ßËØÖʵļ¼ÊõÍŶÓȥʵÏÖ¡£Ä¿Ç°ÈԷܶ·ÔÚÕæ¿Õ²úÒµÑз¢¸ÚλÉϵļ¼ÊõÈ˲ţ¬ÊÇÕæ¿ÕÉ豸ÐÐÒµ·¢Õ¹µÄÏ£Íû£¬ÊÇÖйúÃñ×幤ҵ·¢Õ¹µÄÏ£Íû¡£ÎÒÃÇÕâ¸ö¶ÓÎéËäĿǰÈÔÏԵõ¥±¡£¬µ«¾¹ý´óÀËÌÔɳ£¬ÁôÏÂÀ´µÄ¶¼Êǽð×Ó¡£Ëæ×Åʱ¼äµÄÍÆÒÆ£¬È˲ŵÄÎÊÌ⽫»áÓкõÄת»ú¡£
ÓÀ¼ÎÏØÈª´ï±Ã·§ÖÆÔìÓÐÏÞ¹«Ë¾
ISWÐÍÎÔʽ¹ÜµÀÀëÐıòúÆ·¸ÅÊö£º
ISWÐÍÎÔʽ¹ÜµÀÀëÐıÃÊÇÓÀ¼ÎȪ´ï±Ã·§ÖÆÔìÓÐÏÞ¹«Ë¾¸ù¾ÝISÐÍÀëÐıÃÓëÁ¢Ê½±ÃµÄ¶ÀÌØ½á¹¹×éºÏÉè¼Æ£¬²¢Ñϸñ°´ÕÕ¹ú¼Ê±ê×¼ISO2858ºÍ×îеĹú¼Ò¹ÜµÀÀëÐıñê×¼JB/T53058-93½øÐÐÉè¼ÆÖÆÔìµÄ¸ßЧ½ÚÄܲúÆ·¡£¸Ã±Ã²ÉÓùúÄÚÏȽøË®Á¦Ä£ÐÍÓÅ»¯Éè¼Æ¶ø³É¡£Í¬Ê±¸ù¾ÝʹÓÃζȡ¢½éÖʵȲ»Í¬ÔÚISWÐÍ»ù´¡ÉÏÅÉÉú³öÈÈË®±Ã¡¢¸ßαᢻ¯¹¤±Ã¡¢Óͱõȣ¬ÊÇĿǰ¹ú¼Ò±ê×¼¶¨ÐÍÍÆ¹ã²úÆ·¡£
ISWÐÍÎÔʽ¹ÜµÀÀëÐıÃÐͺÅÒâÒ壺

ISWÐÍÎÔʽ¹ÜµÀÀëÐıù¤×÷Ìõ¼þ£º
1¡¢ ÎüÈëѹÁ¦≤1.0Mpa£¬»ò±Ãϵͳ×î¸ß¹¤×÷ѹÁ¦≤1.6Mpa,¼´±ÃÎüÈë¿ÚѹÁ¦+±ÃÑï³Ì≤ 1.6Mpa¡¢±Ã¾²Ñ¹ÊÔÑéѹÁ¦Îª2.5Mpa,¶©»õʱÇë×¢Ã÷ϵͳ¹¤×÷ѹÁ¦¡£±Ãϵͳ¹¤×÷ѹÁ¦´óÓÚ 1.6MpaʱӦÔÚ¶©»õʱÁíÐÐÌá³ö¡£ÒÔ±ãÔÚÖÆÔìʱ±ÃµÄ¹ýÁ÷²¿¼þºÍÁª½Ó²¿·Ö²ÉÓÃÖý¸Ö²ÄÁÏ¡£
2¡¢ »·¾³Î¶È<40¡æ£¬Ïà¶Ôʪ¶È<95%¡£
3¡¢ ËùÊäËͽéÖÊÖйÌÌå¿ÅÁ£Ìå»ýº¬Á¿²»³¬¹ýµ¥Î»Ìå»ýµÄ0.1%£¬Á£¶È<0.2mm.
×¢£ºÈçʹÓýéÖÊΪ´øÓÐϸС¿ÅÁ££¬ÇëÔÚ¶©»õʱ˵Ã÷£¬ÒÔ±ã²ÉÓÃÄÍĥʽ»úеÃÜ·â¡£
ISWÐÍÎÔʽ¹ÜµÀÀëÐıòúÆ·ÓÃ;£º
1¡¢ ISWÐÍÎÔʽ¹ÜµÀÀëÐı㬹©ÊäËÍÇåË®¼°ÎïÀí»¯Ñ§ÐÔÖÊÀàËÆÓÚÇåË®µÄÆäËûÒºÌåÖ®Óã¬ÊÊÓÃÓÚ¹¤ÒµºÍ³ÇÊиøÅÅË®£¬¸ß²ã½¨ÖþÔöѹËÍË®£¬Ô°ÁÖ¹à¸È£¬Ïû·ÀÔöѹ¼°É豸ÅäÌ×£¬Ê¹ÓÃζÈT£º≤80¡æ¡£
2¡¢ISWRÎÔʽÈÈË®¹ÜµÀ±Ã¹ã·ºÊÊÓÃÓÚÄÜÔ´¡¢Ò±½ð¡¢»¯¹¤¡¢·ÄÖ¯¡¢ÔìÖ½¡¢ÒÔ¼°±ö¹Ý·¹µêµÈ¹øÂ¯¸ßÎÂÈÈË®Ôöѹѻ·ÊäËͼ°³ÇÊвÉůϵͳѻ·Óñã¬ISWRʹÓÃζÈT£º≤120¡æ¡¢WRGʹÓÃζÈT£º≤240¡æ¡£
3¡¢ ISWHÐÍÎÔʽ»¯¹¤±Ã£¬¹©ÊäËͲ»º¬¹ÌÌå¿ÅÁ££¬¾ßÓи¯Ê´ÐÔ£¬Õ³¶ÈÀàËÆÓÚË®µÄÒºÌ壬ÊÊÓÃÓÚʯÓÍ¡¢»¯¹¤¡¢Ò±½ð¡¢µçÁ¦¡¢ÔìÖ½¡¢Ê³Æ·¡¢ÖÆÒ©ºÍºÏ³ÉÏËάµÈ²¿ÃÅ£¬Ê¹ÓÃζÈT£º-20¡æ-120¡æ¡£
4¡¢ ISWBÐÍÎÔʽÓͱ㬹©ÊäËÍÆûÓÍ¡¢²ñÓÍ¡¢ÃºÓ͵ÈʯÓͲúÆ·£¬Ê¹ÓÃζÈT£º-20¡æ-120¡æ¡£
ISWÐÍÎÔʽ¹ÜµÀÀëÐıòúÆ·ÌØµã£º
1¡¢ÔËÐÐÆ½ÎÈ£º±ÃÖáµÄ¾ø¶ÔͬÐĶÈÒ¶ÂÖÓÅÒìµÄ¶¯¾²Æ½ºâ£¬±£Ö¤Æ½ÎÈÔËÐУ¬¾øÎÞÕñ¶¯¡£
2¡¢µÎË®²»Â©£º²»Í¬²ÄÖʵÄÓ²ÖʺϽðÃܷ⣬±£Ö¤Á˲»Í¬½éÖÊÊäË;ùÎÞй©¡£
3¡¢ÔëÒôµÍ£ºÁ½¸öµÍÔëÒôÖá³ÐϵÄË®±Ã£¬ÔËתƽÎÈ£¬³ýµç»ú΢ÈõÉùÏ죬»ù±¾ÎÞÔëÉù¡£
4¡¢¹ÊÕÏÂʵͣº½á¹¹¼òµ¥ºÏÀí£¬¹Ø¼ü²¿·Ö²ÉÓùú¼ÊÒ»Á÷Æ·ÖÊÅäÌ×£¬Õû»úÎÞ¹ÊÕϹ¤×÷ʱ¼ä´ó´óÌá¸ß¡£
5¡¢Î¬ÐÞ·½±ã£º¸ü»»ÃÜ·â¡¢Öá³Ð¡¢¼òÒ×·½±ã¡£
6¡¢Õ¼µØ¸üÊ¡£º³ö¿Ú¿ÉÏò×ó¡¢ÏòÓÒ¡¢ÏòÉÏÈý¸ö·½Ïò£¬±ãÓڹܵÀ²¼Öð²×°£¬½ÚÊ¡¿Õ¼ä¡£
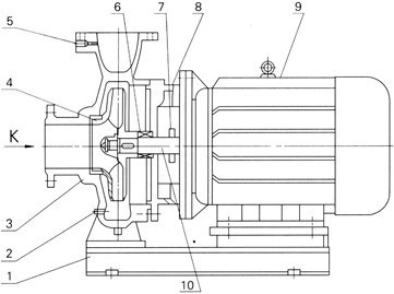
ISWÐÍÎÔʽ¹ÜµÀÀëÐıýṹͼ£º
|

|
1
|
µ××ù
|
|
2
|
·ÅË®¿×
|
|
3
|
±ÃÌå
|
|
4
|
Ò¶ÂÖ
|
|
5
|
ȡѹ¿×
|
|
6
|
»úеÃÜ·â
|
|
7
|
µ²Ë®È¦
|
|
8
|
¶Ë¸Ç
|
|
9
|
µç»ú
|
|
10
|
Öá
|
½á¹¹¼ûͼ£º¸Ã»ú×éÓɱᢵç»úºÍµ××ùÈý²¿·Ö×é³É¡£±Ã½á¹¹°üÀ¨±ÃÌå¡¢Ò¶ÂÖ¡¢±Ã¸Ç¡¢»úеÃÜ·âµÈÁ㲿¼þ×é³É¡£±ÃΪµ¥¼¶µ¥ÎüÎÔʽÀëÐÄʽ£¬±ÃÌåºÍ±Ã¸ÇÁ½²¿·ÝÊÇ´ÓÒ¶ÂÖ±³Ãæ´¦ÆÊ·ÖµÄ£¬¼´Îªºó¿ªÃŽṹÐÎʽ¡£´ó¶àÊý±ÃµÄÒ¶ÂÖǰ¡¢ºó¾ùÉèÓÐÃÜ·â»·£¬²¢ÔÚÒ¶ÂÖºó¸Ç°åÉÏÉèÓÐÆ½ºâ¿×£¬ÒÔÆ½ºâ×÷ÓÃÔÚת×ÓÉϵÄÖáÏòÁ¦¡£±Ã½ø¿ÚΪÖáÏòˮƽÎüÈ룬³ö¿ÚΪ´¹Ö±ÏòÉϲ¼Öᣱú͵ç»úͬÖᣬµç»úÖáÉì¶Ë²ÉÓÃË«½Ç½Ó´¥ÇòÖá³Ð½á¹¹¿É²¿·Öƽºâ±ÃµÄ²ÐÓàÖáÏòÁ¦¡£±ÃÓëµç»úÖ±Áª£¬°²×°Ê±ÎÞÐèУÕý£¬¾ßÓй²Í¬µ××ù£¬²¢ÓÃJGÐ͸ôÕñÆ÷½øÐиôÕñ¡£ |