防爆自吸油泵,不锈钢自吸泵,防爆自吸泵
CYZ-A自吸油泵产品概述:
CYZ-A型自吸油泵是永嘉泉达泵阀制造有限公司结合国内外有关技术资料,经消化、吸收、改善后研发而成的最新自吸泵泵类产品,该自吸泵适用于石油职业、陆地油库、油罐车产品商品,并适合于作船用货油泵、舱底泵、消防泵和压载泵及机器冷却水循环等,适用于运送汽油、火油、柴油、航煤等石油商品和海水、清水,介质度-20℃-80℃,如运送化工液体可改用耐腐蚀机械密封。
CYZ-A型自吸油泵型号意义:

CYZ-A型自吸油泵产品特点:
1.结构简单。永嘉泉达生产的该泵属自吸式油泵,它具有结构简单、操作方便、运行平稳、维护容易、效率高、寿命长具有较强的自吸能力等优点。管路中不需底阀,工作前只需保证泵体内储有定量引油即可。用于油轮或输水船舶上时,可兼作扫舱泵,扫舱效果良好。
2.不需要底阀。CYZ-A型自吸式油泵是选用优质材料精作而成,密封采用硬质合金机械密封,经久耐用,吐出管路不需要安装安全阀,吸入管路不需要安装底阀因此简化了管路系统,又改善了劳动条件。
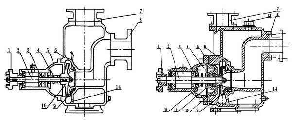
结构图:

|
1
|
联轴器
|
2
|
泵轴
|
3
|
轴承
|
4
|
机械密封
|
5
|
轴承体
|
6
|
泵壳
|
7
|
出口座
|
|
8
|
进口座
|
9
|
前密封环
|
10
|
叶轮
|
11
|
后盖
|
12
|
档水圈
|
13
|
加液孔
|
14
|
回液孔
|
CYZ-A型自吸油泵工作原理:
自吸油泵均选用轴向回液的泵体计划。泵体由吸入室、储液室、涡卷室、回液孔、气液别离室等组成,泵正常起动后,叶轮将吸入室所存的液体及吸入管路中的空气一同吸入,并在叶轮内得以彻底混合,在离心力的效果下,液体夹带着气体向涡卷室外缘活动,在叶轮的外缘上构成有必定厚度的白色泡沫带及高速旋转液环。气液混合体经过懈怠管进入气液别离室。此刻,由于流速俄然下降,较轻的气体从混合气液中被分离出来,气体经过泵体排出口持续上升排出。脱气后的液体回到储液室,并由回流孔再次进入叶轮,与叶轮内部从吸入管路中吸入的气体再次混合,在高速旋转的叶轮效果下,又流向叶轮外缘。跟着这个进程循环往复地进行下去,吸人管路中的空气不断削减,直到吸尽气体,完毕自吸进程,泵便投入正常工作。由于该自吸泵具有这种一同的排气才调,所以此泵能运送富含气体的液体,无需设备底阀,使用在油轮上时具有超卓的扫舱功用。
在一些泵的轴承体底部还设有冷却室。当轴承发热致使轴承体温升跨过70℃,可在冷却室处经过纵情一只冷却液管接头,注人冷却液循环冷却。泵内部避免液体由高压区向低压区走漏的密封组织是前后密封环,前密封环装在泵体上,后密封环装在轴承体上,当泵经长时间工作密封环磨损到必定程度,并影响到泵的功率和自吸功用时,应给予替换。
CYZ-A型自吸油泵性能曲线图:

CYZ-A型自吸油泵性能参数:
|
型号
|
流量
|
扬程(m)
|
吸程(m)
|
转速(r/min)
|
自吸性能(min/5m)
|
功率(KW)
|
泵口径(mm)
|
机组重量(kg)
|
|
(m3/h)
|
(L/S)
|
轴功率
|
电机功率
|
吸人
|
排出
|
|
25CYZ-A-20
|
3.2
|
0.9
|
20
|
6.5
|
2900
|
1.9
|
0.46
|
0.75
|
25
|
25
|
72
|
|
25CYZ-A-32
|
3.2
|
0.9
|
32
|
6.5
|
2900
|
1.8
|
0.8
|
1.1
|
25
|
25
|
80
|
|
40CYZ-A-20
|
6.3
|
1.8
|
20
|
6.5
|
2900
|
1.9
|
0.87
|
1.1
|
40
|
32
|
85
|
|
40CYZ-A-40
|
10
|
2.8
|
40
|
6.5
|
2900
|
1.5
|
2.7
|
4
|
40
|
40
|
138
|
|
50CYZ-A-12
|
15
|
4.2
|
12
|
6.5
|
2900
|
2.4
|
1.1
|
1.5
|
50
|
50
|
90
|
|
50CYZ-A-20
|
18
|
5
|
20
|
6.5
|
2900
|
1.9
|
1.8
|
2.2
|
50
|
50
|
98
|
|
50CYZ-A-30
|
20
|
5.6
|
30
|
6.5
|
2900
|
1.5
|
2.6
|
4
|
50
|
50
|
140
|
|
50CYZ-A-35
|
14
|
3.9
|
35
|
6.5
|
2900
|
1.5
|
2.7
|
4
|
50
|
50
|
145
|
|
50CYZ-A-40
|
10
|
2.8
|
40
|
6.5
|
2900
|
1.5
|
2.7
|
4
|
50
|
50
|
145
|
|
50CYZ-A-50
|
12.5
|
3.5
|
50
|
6.5
|
2900
|
1.4
|
4.3
|
5.5
|
50
|
50
|
160
|
|
50CYZ-A-60
|
15
|
4.2
|
60
|
6.5
|
2900
|
1.3
|
6.2
|
7.5
|
50
|
50
|
190
|
|
50CYZ-A-75
|
20
|
5.6
|
75
|
6.5
|
2900
|
1.3
|
9.8
|
11
|
50
|
50
|
240
|
|
65CYZ-A-15
|
30
|
8.3
|
15
|
6.5
|
2900
|
2
|
1.9
|
3
|
65
|
65
|
100
|
|
65CYZ-A-32
|
25
|
6.9
|
32
|
6
|
2900
|
1.5
|
4.4
|
5.5
|
65
|
65
|
165
|
|
80CYZ-A-13
|
35
|
9.7
|
13
|
6
|
2900
|
3.4
|
1.9
|
3
|
80
|
80
|
107
|
|
80CYZ-A-17
|
43
|
12
|
17
|
6
|
2900
|
1.8
|
3.1
|
4
|
80
|
80
|
156
|
|
80CYZ-A-22
|
40
|
11.1
|
22
|
6
|
2900
|
1.9
|
4.4
|
5.5
|
80
|
80
|
169
|
|
80CYZ-A-25
|
50
|
13.9
|
25
|
6
|
2900
|
1.5
|
5.2
|
7.5
|
80
|
80
|
177
|
|
80CYZ-A-32
|
50
|
13.9
|
32
|
6
|
2900
|
1.5
|
6.8
|
7.5
|
80
|
80
|
180
|
|
80CYZ-A-55
|
60
|
16.7
|
55
|
6
|
2900
|
1.5
|
15
|
18.5
|
80
|
80
|
310
|
|
80CYZ-A-70
|
60
|
16.7
|
70
|
6
|
2900
|
1.2
|
20.1
|
22
|
80
|
80
|
333
|
|
100CYZ-A-20
|
100
|
27.8
|
20
|
6
|
2900
|
1.8
|
7.8
|
11
|
100
|
100
|
258
|
|
100CYZ-A-40
|
100
|
27.8
|
40
|
6
|
2900
|
1.8
|
16.3
|
99
|
100
|
100
|
455
|
|
100CYZ-A-40A
|
100
|
27.8
|
40
|
6
|
1450
|
1.8
|
18.5
|
22
|
100
|
100
|
520
|
|
100CYZ-A-65
|
100
|
27.8
|
65
|
6
|
2900
|
1.8
|
27.7
|
30
|
100
|
100
|
620
|
|
100CYZ-A-75
|
70
|
19.4
|
75
|
6
|
2900
|
1.8
|
24.2
|
30
|
100
|
100
|
639
|
|
150CYZ-A-55
|
170
|
47.2
|
55
|
5
|
2900
|
1.8
|
39.2
|
45
|
150
|
150
|
830
|
|
150CYZ-A-65
|
170
|
47.2
|
65
|
5
|
2900
|
1.3
|
46.3
|
55
|
150
|
150
|
957
|
|
150CYZ-A-65A
|
170
|
47.2
|
65
|
5
|
1450
|
1.2
|
49.8
|
55
|
150
|
150
|
1138
|
|
150CYZ-A-80
|
160
|
44.4
|
80
|
5
|
2900
|
1.2
|
53.6
|
55
|
150
|
150
|
986
|
|
200CYZ-A-32
|
400
|
111.1
|
32
|
5
|
1450
|
2
|
52.1
|
55
|
200
|
200
|
1205
|
|
200CYZ-A-63
|
280
|
77.8
|
63
|
5
|
1450
|
1.5
|
73.9
|
90
|
200
|
200
|
1338
|
|
200CYZ-A-65
|
350
|
97.2
|
65
|
5
|
1450
|
1.5
|
97.2
|
110
|
200
|
200
|
1553
|
|
250CYZ-A-32
|
550
|
152.8
|
32
|
5
|
1450
|
2
|
72.3
|
75
|
250
|
250
|
1307
|
|
250CYZ-A-50
|
400
|
111.1
|
50
|
5
|
1450
|
2
|
80
|
90
|
250
|
250
|
1486
|
|
250CYZ-A-55
|
450
|
125
|
55
|
5
|
1450
|
2
|
102.1
|
110
|
250
|
250
|
1681
|
|
250CYZ-A-75
|
400
|
111.1
|
75
|
5
|
1450
|
1.5
|
125.6
|
132
|
250
|
250
|
1829
|
|
300CYZ-A-32
|
600
|
166.7
|
32
|
5
|
1450
|
2
|
79.2
|
90
|
300
|
300
|
1608
|
|
300CYZ-A-50
|
500
|
138.9
|
50
|
5
|
1450
|
2
|
104.6
|
110
|
300
|
300
|
1728
|
|
300CYZ-A-55
|
550
|
152.8
|
55
|
5
|
1450
|
2
|
117.6
|
132
|
300
|
300
|
1995
|
CYZ-A型自吸油泵订货请尽量提供:
1.型号2.口径3.扬程(m)4.流量5.电机功率(KW)6.转速(R/min)7.材质是否带附件8.电压(V)

感谢您访问我们永嘉泉达的网站【www.94651.cn】如有任何水泵疑问.您可以致电给我们,电话:0577-66999097、66999098,我们一定会尽心尽力为您提供优质的服务。
相关产品:
自吸式油泵CYZ-A型 W旋涡泵 (ZS)型系列玻璃钢自吸泵 FZB氟塑料自吸泵 JMZ移动酒泵 ZWP不锈钢自吸泵
WFZB无密封自控自吸泵 CYZ-A型自吸式油泵 磁力驱动自吸泵 ZX型自吸式清水泵 ZBF型塑料磁力自吸泵
ZCQ型不锈钢磁力自吸泵 ZW无堵塞自吸泵 ZW型自吸泵机械密封