FG型耐腐蚀不锈钢螺杆泵介绍:
单螺杆泵在相对发达的国家,因其卓越的性能,在发达国家广泛使用,并且在国内的的应用范围在也扩大。它明显的优点是对介质的适应性很强,流量十分平稳,压力脉动比较小,自吸性能也很高。这些优点在其他的泵类产品中是很难替代的。永嘉县泉达泵阀制造有限公司对国外(如:德、英、法、日本等国)生产的螺杆泵及国内同行业的产品,作了分析与研究,博取众长,对自已的产进行不断的改革创新。目前我单位的产品已自成一体系,压力0.4∽1.2MPa,可满足广大用户对螺杆泵的不同需求。单位热忱为广大用户服务,接受用户对特殊要求螺杆泵的设计和制造任务。
型号意义:
列入FG-30-1 F-不锈钢 G-单螺杆泵 30-螺杆名义直径(mm) 1-表示1级泵
使用范围:
G型螺杆泵首要作业部件是偏心螺杆(转子)和固定的衬套(定子)。选用无毒无味的食用橡胶,作业温度可达120摄氏度,若是选用高温120摄氏度—350摄氏度时可同本单位联络。因为该二部件的特别几许最初别离构成独自的密封容腔。介质由轴向均匀推广活动。内部流速代低,容积坚持不变。压力安稳,因此不会商品涡流和搅动。每级泵的输出压力为0.6MPa—1.2MPa,扬程60m—120m(清水),自吸高度通常在3m以上。
工作原理和特性:
不锈钢螺杆泵是按迥转啮合容积式原理工作的新型螺杆泵。不锈钢螺杆泵主要工作部件是偏心螺杆(转子)和固定的衬套(定子)。由于该二部件的特殊几何开头分别形成单独的密封容腔。介质由轴向均匀推行流动。内部流速低,容积保持不变。不锈钢螺杆泵压力稳定,因而不会产生涡流和搅动。
FG型耐腐蚀不锈钢螺杆泵性能参数表:
1. 简介:污泥螺杆泵即为单螺杆泵,它的主要工作部件是偏心螺旋体的螺杆(即转子)和内表面呈双线螺旋面的螺杆衬套(即定子)
污泥螺杆泵概述
污泥螺杆泵即为单螺杆泵在污泥污水处理中的具体应用,该泵利用偏心单螺旋的螺杆在双螺旋衬套内的转动,使污泥污水沿螺旋槽由吸入口推移至排出口,这就是污泥螺杆泵的工作原理。
2.污泥螺杆泵的工作原理
污泥螺杆泵是一种单螺杆式输运泵,它的主要工作部件是偏心螺旋体的螺杆(称转子)和内表面呈双线螺旋面的螺杆衬套(称定子)。其工作原理是当电动机带动泵轴转动时,螺杆一方面绕本身的轴线旋转,另一方面它又沿衬套内表面滚动,于是形成泵的密封腔室。螺杆每转一周,密封腔内的液体向前推进一个螺距,随着螺杆的连续转动,液体螺旋形方式从一个密封腔压向另一个密封腔,最后挤出泵体。螺杆泵是一种新型的输送液体的机械,具有结构简单、工作安全可靠、使用维修方便、出液连续均匀、压力稳定等优点。
污泥螺杆泵是一种利用螺杆的旋转来吸排液体的泵,它最适于吸排黏稠液体。
3.污泥螺杆泵优点
污泥螺杆泵即单螺杆泵具有螺杆泵共同的优点。它既适合输送低粘度如水等介质,还尤其适合输送含有固体颗?;蚨滔宋男∫海约罢扯确浅8叩慕橹?。[3]
1)压力和流量范围宽阔。压力约在3.4-340千克力/cm 2,流量可达18600cm3/分;
2)运送液体的种类和粘度范围宽广;
3)因为污泥螺杆泵内的回转部件惯性力较低,故可使用很高的转速;
4)吸入性能好,具有自吸能力;
5)流量均匀连续,振动小,噪音低;
6)与其它回转泵相比,对进入的气体和污物不太敏感;
7)结构坚实,安装保养容易。
4污泥螺杆泵应用范围
单螺杆泵属于容积式泵,转子用不锈钢或者40铬,定子用中硬度橡胶制作,因而本泵最适用于带固体颗粒的、浓稠介质的输送,如污泥污水处理等行业使用。例如
1、 制糖厂的糖蜜、糖汁、庶渣、甜菜渣的输送;
2、 罐头厂的、食品厂的奶粉、淀粉、蜂蜜、咖啡、牛奶、奶油、食用油、各种维生素液、麦芽糖、蕃茄酱、果酱、蛋黄酱、冰淇淋等的装料和输送;
3、 酿造酒厂的酒类饮料、香料、发酵液的投料配料,压滤机装料粮食废渣的输送;
4、 鱼类加工厂的鱼肝油、鱼油、鱼松、鱼渣的输送;
5、 果品加工厂糖汁、果汁的输送、柑桔、水果的捣烂,填料机的加料等;
6、 粮油加工厂的食油、大米及玉米淀粉等的装填料及输送;
7、 肉类加工厂、屠宰物;油脂、肉油撺取、装箱、废液的输送;
8、 制药厂:各种维生素液、药液、乳剂的加料运输,悬浮液、盐水、盐污泥、药渣等输送;
9、 化学工业:酸、碱液的输送,各种悬浮液、油脂、胶液、各种化学染料、油漆、各种粘合剂、软膏、浆料的投料、配料和输送,尤其是一般离心式泵无法输送的各种高粘度物料、或带固体颗粒和物料本泵都能输送;
10、 油墨的配料输送;
11、 造纸厂的纸浆、墨液的输送;
12、 石油化工厂的油类产品,油脂、废液污泥的输送;
13、 乙炔站电石污泥的输送;
14、 建筑行业输送灰浆、石灰乳、砂浆、水泥浆等;
15、 可用着并泵抽水、饲料加工过程中的输送及装投类;
16、 广泛用于工业和生活的污水、污泥处理,污水中通常含有许多悬浮物有一定腐蚀性和粘度,往往含有固体颗粒,固而使用浓浆泵输送是合适的;
17、 用于原子能发射站的污染水、污染液和其它物料的输送;
18、 矿井排污水、污泥。[3]
5污泥螺杆泵使用指南
污泥螺杆泵的使用起动
1、 准备必要的扳手和工具。
2、 检查机座,轴承和油腔无润滑油。
3、 检查空心轴血肉密封程度是否适当,填料压盖不可将盘根压得过紧,允许呈滴状渗出。
4、 用手或管子钳转动联轴器,注意泵体内有无异物碰撞杂声和卡死现象,如有应清除后方可开车。
5、 将料液注满泵腔,切勿于摩擦运转,以免扣球衬套。
6、 全开出液管的闸阀。
7、 开电动机。
污泥螺杆泵的停机
1、 关闭吸入管阀门。
2、 关闭排出管阀门。
3、 停止电机。
4、 当泵处于长期停止工作时,应将泵腔内料液放净,并用水或蒸汽冲洗。
污泥螺杆泵运转
1、 经常检查泵和电机轴承温升情况,最高温度不应超过75℃。
2、 及时补充润滑油,保证轴承润滑良好。
3、 运转过程中,如发现异常噪声或过大振动应立即?;觳?,排除故障。
4、 当流量显著减少,说明橡胶衬已磨损,应更换新衬套后再运转.
6.污泥螺杆泵的主要故障及排除方法
|
故障
|
原因
|
排除方法
|
|
1、启动困难
|
1、 料液未充满泵腔,摩擦阻力较大。
2、 填料压盖压得过紧,轴与填料之间有摩擦力矩过大。
|
1、 用管子钳搬动联轴器泵主轴3~6转。
2、 调整填料压盖。
|
|
2、启动后不出料液
|
1、 有大量空气吸入;
2、 电动机转向不对;
3、 料液粘度过大。
|
1、 检查吸入口液位是否太低,吸入管是否漏气;
2、 调接电动机的任意两相进线;
3、 稀释料液。
|
|
3、泵有圈套的振动或噪音
|
1、 电动机与泵轴不同心;
2、 泵内吸入空气或料液混有大量空气。
|
1、 重新调整同轴度;
2、 检查料液位,设法排除吸入液中的空气。
|
|
4、运行过程中,流量显著下降
|
1、 衬套磨损,间隙增大。
2、 转速降低。
3、 万向联轴节或绕轴损坏传动失效;
4、 吸入管路浸入液体深度不够,有空气进入泵内。
|
1、 更换衬套,必要时换螺杆;
2、 检查电源和电机;
3、 ?;煨?,更换轴联轴节或绕轴;
4、 减小吸入高度,增加浸入深度,拔除吸入料液中空气。
|
|
5、电动机超载
|
1、 扬程超过泵的扬程式过多;
2、 料液粘度太大。
3、 电压太低。
|
1、 尽量减小管路水头损失,或更换高扬程泵。
2、 稀释料液;
3、 检查原因,提高电压至规定值。
|
|
6、轴封填料处大量漏液
|
1、 压盖过松;
2、 填料磨损;
3、 进出口位置相反。
|
1、 调整压盖;
2、 更换填料;
3、 以中间法兰口为吸入口。
|
|
型号 |
流量
(m3/h) |
压力
(Mpa) |
允许最
高转数
(r/min) |
电机
功率
(kw) |
必需汽
蚀余量
(m) |
进口法
兰通径
(mm)
|
出口法
兰通径
(mm) |
允许颗
粒直径
(mm) |
允许纤
维长度
(mm) |
|
G20-1 |
0.8 |
0.6 |
960 |
0.75 |
4 |
25 |
25 |
1.5 |
25 |
|
G20-2 |
1.2 |
1.5 |
|
G25-1 |
2 |
0.6 |
960 |
1.5 |
40 |
32 |
2 |
30 |
|
G25-2 |
1.2 |
2.2 |
|
G30-1 |
5 |
0.6 |
960 |
2.2 |
50 |
40 |
2.5 |
35 |
|
G30-2 |
1.2 |
3 |
|
G35-1 |
8 |
0.6 |
960 |
3 |
65 |
50 |
3 |
40 |
|
G35-2 |
1.2 |
4 |
|
G40-1 |
12 |
0.6 |
960 |
4 |
80 |
65 |
3.8 |
45 |
|
G40-2 |
1.2 |
5.5 |
|
G50-1 |
14 |
0.6 |
720 |
5.5 |
4.5 |
100 |
80 |
5 |
50 |
|
G50-2 |
1.2 |
7.5 |
|
G60-1 |
22 |
0.6 |
720 |
11 |
5 |
125 |
100 |
6 |
60 |
|
G60-2 |
1.2 |
15 |
|
G70-1 |
38 |
0.6 |
720 |
11 |
150 |
125 |
8 |
70 |
|
G70-2 |
1.2 |
18.5 |
|
G85-1 |
56 |
0.6 |
630 |
15 |
150 |
150 |
10 |
80 |
|
G85-2 |
1.2 |
30 |
|
G105-1 |
100 |
0.6 |
500 |
30 |
200 |
200 |
15 |
110 |
|
G105-2 |
1.2 |
55 |
|
G135-1 |
150 |
0.6 |
400 |
45 |
250 |
250 |
20 |
150 |
|
G135-2 |
1.2 |
90
|
螺杆泵与其它泵类的比较

1、与离心泵相比螺杆泵无需安装阀门,流量是稳定的线性流动;
2、与柱塞泵相比不锈钢螺杆泵具有自吸能力强、吸入高度强;
3、与隔膜泵相比螺杆泵可输送各种混合杂质含有气体及固体颗?;蛳宋慕橹?,也可输送各种腐蚀性物质;
4、与齿轮油泵相比,不锈钢螺杆泵可输送高粘度的物质;
5、与柱塞泵,隔膜泵及齿轮泵不同的是,不锈钢螺杆泵可用于药剂填充和计量。
耐腐蚀螺杆泵每级泵的输出压力为0.6Mpa,扬程60m (清水),自吸高度一般在3m以上。因定子选用多种弹性材料制成,所以这种泵对高粘度流体的输送和含有硬质悬浮颗粒介质或含有纤维介质的输送,有一般泵种所不能胜任的特性。其流量与转速成正比。
不锈钢螺杆泵结构紧凑,体积小,维修简便。对介质的适应性强,流量平稳,压力脉动小,自吸能力高。工作温度可达120℃,如果需输送120℃-350℃高温介质,可定做。广泛用于食品、冶金、造纸、印染、化工、化肥、制药等工业部门。
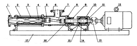
FG型耐腐蚀不锈钢螺杆泵结构图:
1 出料腔 2 拉杆 3 螺杆胶套 4 螺杆轴 5 万向节总成 6 吸入口体
7 连节轴 8 填料器 9 填料压盖 10 轴承座 11 轴承盖 12 电机
13 连轴器 14 轴套 15 轴承 16 传动主轴 17 底座
相关关键词:FG型耐腐蚀不锈钢螺杆泵,FG型不锈钢螺杆泵,FG型耐腐蚀螺杆泵
FG型耐腐蚀不锈钢螺杆泵订货请尽量提供:
1.型号2.口径3.扬程(m)4.流量5.电机功率(KW)6.转速(R/min)7.材质是否带附件8.电压(V)

感谢访问泉达,我公司主要生产管道泵,自吸泵,排污泵等产品