GÐ͵¥Âݸ˱ýéÉÜ£º
GÐ͵¥Âݸ˱õĵ¥Âݸ˱ÃÔÚ·¢´ïµÄ¹ú¼ÒÒѹ㷺ʹÓã¬ÓÉÓÚÆäÓÅÁ¼µÄÐÔÄÜ£¬½üÄêÀ´ÔÚ¹úÄÚµÄÓ¦Ó÷¶Î§Ò²ÔÚѸËÙÀ©´ó¡£ËüµÄ×î´óÌØµãÊǶԽéÖʵÄÊÊÓ¦ÐÔÇ¿¡¢Á÷Á¿Æ½ÎÈ¡¢Ñ¹Á¦Âö¶¯Ð¡¡¢×ÔÎüÄÜÁ¦¸ß£¬ÕâÊÇÆäËüÈκαÃÖÖËù²»ÄÜÌæ´úµÄ¡£¶Ô×ÔÒѵIJú½øÐв»¶ÏµÄ¸Ä¸ï´´Ð¡£Ä¿Ç°ÎÒµ¥Î»µÄ²úÆ·ÒÑ×Ô³ÉÒ»Ìåϵ£¬Ñ¹Á¦Îª0.4¡×1.2MPa,¿ÉÂú×ã¹ã´óÓû§¶Ôµ¥Âݸ˱õIJ»Í¬ÐèÇó¡£ÎÒµ¥Î»Éú²úµÄGÐ͵¥Âݸ˱ã¬ÖÊÁ¿¿É¿¿£¬ÊµÐÐÈý°ü£¬¼Û¸ñÒ²Ïà¶Ô½ÏµÍ£¬Í¬Ê±È·±£±¸¼þµÄÕý³£¹©Ó¦¡£±¾µ¥Î»ÈȳÀΪ¹ã´óÓû§·þÎñ£¬½ÓÊÜÓû§¶ÔÌØÊâÒªÇóµ¥Âݸ˱õÄÉè¼ÆºÍÖÆÔìÈÎÎñ¡£
GÐ͵¥Âݸ˱ÃÐͺÅÒâÒå:

ʹÓ÷¶Î§:
GÐ͵¥Âݸ˱ÃÓÉÓڸöþ²¿¼þµÄÌØÊ⼸ºÎÐÎ×´£¬·Ö±ðÐγɵ¥¶ÀµÄÃÜ·âÈÝÇ»£¬½éÖÊÓÉÖáÏò¾ùÔÈÍÆÐÐÁ÷¶¯£¬ÄÚ²¿Á÷Ëٵͣ¬ÈÝ»ý±£³Ö²»±ä£¬Ñ¹Á¦Îȶ¨£¬Òò¶ø²»»á²úÉúÎÐÁ÷ºÍ½Á¶¯¡£Ã¿¼¶±ÃµÄÊä³öѹÁ¦Îª0.6MPa£¬Ñï³Ì60m(ÇåË®)£¬×ÔÎü¸ß¶ÈÒ»°ãÔÚ6mÒÔÉÏ¡£
¡¡¡¡Òò¶¨×ÓÑ¡ÓöàÖÖµ¯ÐÔ²ÄÁÏÖÆ³É£¬ËùÒÔÕâÖֱöԸßÕ³¶ÈÁ÷ÌåµÄÊäËͺͺ¬ÓÐÓ²ÖÊÐü¸¡¿ÅÁ£½éÖÊ»òº¬ÓÐÏËά½éÖʵÄÊäËÍ£¬ÓÐÒ»°ã±ÃÖÖËù²»ÄÜʤÈεÄÌØÐÔ¡£ÆäÁ÷Á¿ÓëתËÙ³ÉÕý±È¡£
¡¡¡¡µ¥Âݸ˱ýṹ½ô´Õ£¬Ìå»ýС£¬Î¬ÐÞ¼ò±ã¡£¶Ô½éÖʵÄÊÊÓ¦ÐÔÇ¿£¬Á÷Á¿Æ½ÎÈ£¬Ñ¹Á¦Âö¶¯Ð¡£¬×ÔÎüÄÜÁ¦¸ß¡£¹¤×÷ζȿɴï120¡æ£¬Èç¹ûÐèÊäËÍ120¡æ-350¡æ¸ßνéÖÊ£¬¿É¶¨×ö¡£¹ã·ºÓÃÓÚʳƷ¡¢Ò±½ð¡¢ÔìÖ½¡¢Ó¡È¾¡¢»¯¹¤¡¢»¯·Ê¡¢ÖÆÒ©µÈ¹¤Òµ²¿ÃÅ¡£
Ó¦Ó÷¶Î§£º
Âݸ˱Ã×÷ΪһÖÖÄÜÓñã¬Á÷Á¿¿ÉÒÔ¸ù¾ÝÒªÇó£¬Í¨¹ý¸Ä±äËٶȽøÐе÷½Ú£¬ÔËÐÐËٶȿɸ߿ɵͣ¬³ö¿ÚѹÁ¦¿ÉËæ±ÃµÄ¼¶ÊýÔö¼Ó¶øÔö¼Ó£¬Ã¿Ôö¼ÓÒ»¼¶£¬Ñ¹Á¦Ôö¼Ó0.6MPa£¬ÔÚÒÔÏ·¶Î§ºÍÐÐÒµ¹ã·ºÓ¦Óá£
1£º»·¾³±£»¤£º¹¤ÒµÎÛË®¡¢Éú»îÎÛË®¡¢º¬ÓйÌÌå¿ÅÁ£¼°¶ÌÏËάµÄÎÛÄà×ÇË®µÄÊäËÍ£¬ÌرðÊÊÓÃÓÚÓÍË®·ÖÀëÆ÷¡¢°å¿òѹÂË»úµÈÉ豸£»
2£º´¬²°¹¤Òµ£ºÂÖµ×Çå½à¡¢ÓÍË®¡¢ÓÍÔü¡¢ÓÍÎÛË®µÈ½éÖʵÄÊäËÍ£»
3£ºÊ¯Ó͹¤Òµ£ºÊäËÍÔ´ÓÍ¡¢ÔÓÍÓëË®µÄ»ìºÏÎúÌïÆøºÍË®µÄ»ìºÏÎï¡¢ÍùµØ²ãÄÚ¹à×¢¾ÛºÏÎïµÈµÈ£¬´Ó¶ø½µµÍÁË»úе²ÉÓÍ¡¢²ÉúÌïÆøµÄ³É±¾£¬Ôö¼ÓÁËÓͿڲÉÊÕÂÊ£»
4£ºÒ½Ò©¡¢ÈÕ»¯¡¢¸÷ÖÖÕ³³í½¬¡¢È黯Һ¡¢¸÷ÖÖÈí¸à»¯×´Æ·µÄÊäËÍ£»
5£ºÊ³Æ·¹ÞÍ·¹¤Òµ£º¸÷ÖÖÕ³³íµí·Û¡¢Ê³ÓÍ¡¢·äÃÛ¡¢Ìǽ¬¡¢¹û½¬¡¢ÄÌÓÍ¡¢ÓãÃÒÈâÃÓÒÔ¼°ÆäϽÅÁϵÄÊäËÍ£»
6£ºÄðÔ칤ҵ£º¸÷ÖÖ·¢½ÍÕ³³í½¬Òº¡¢Å¨¾Æäî¡¢Á¸Ê³ÖÆÆ·Ôü¡¢¸÷ÖÖ½´Àà¡¢½¬ÀàºÍº¬Óпé×´¹Ì̬ÎïµÄÕ³ÒºµÈ£»
7£º½¨Öþ¹¤Òµ£ºË®Äàɰ½¬¡¢Ê¯»Ò½¬¡¢Í¿Áϼ°ÆäËüºý×´ÌåµÄÅçÍ¿ÓëÊäËÍ£»
8£º²É¿ó¹¤Òµ£º¿ó¾®Äڵĺ¬ÓйÌÌå¿ÅÁ£µÄµØÏÂË®ºÍÎÛ½¬Ë®ÅÅË͵½µØÃ棻
9£º»¯Ñ§¹¤Òµ£º¸÷ÖÖÐü¸¡Òº¡¢ÓÍÖ¬¡¢¸÷ÖÖ½ºÌ彬¡¢¸÷ÖÖÕ³ºÏ¼Á£»
10£ºÓ¡Ë¢¡¢ÔìÖ½¹¤Òµ¡¢¸ßÕ³¶ÈÓÍÄ«¡¢¸ß·Ö×ÓËÜÁϺ͸÷ÖÖŨ¶ÈµÄÖ½½¬¡¢¶ÌÏËά½¬µÄÊäËÍ¡£
11£º¹¤Òµ¹øÂ¯¡¢µç³§£ºË®Ãº½¬µÄÊäËÍ¡£

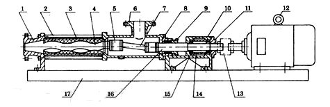
1 ³öÁÏÇ» 2 À¸Ë 3 Âݸ˽ºÌ× 4 ÂݸËÖá 5 ÍòÏò½Ú×Ü³É 6 ÎüÈë¿ÚÌå
7 Á¬½ÚÖá 8 ÌîÁÏÆ÷ 9 ÌîÁÏѹ¸Ç 10 Öá³Ð×ù 11 Öá³Ð¸Ç 12 µç»ú
13 Á¬ÖáÆ÷ 14 ÖáÌ× 15 Öá³Ð 16 ´«¶¯Ö÷Öá 17 µ××ù

²úÆ·ÌØµã
µ¥Âݸ˱ÃÊǰ´åÄתÄöºÏÈÝ»ýʽÔÀí¹¤×÷µÄÐÂÐͱÃÖÖ£¬´«¶¯¿É²ÉÓÃÁªÖáÆ÷Ö±½Ó´«¶¯£¬»ò²ÉÓõÍËÙµç»úÈý½Ç´ø´«µ½£¬±äËÙÏ䣬ÎÞ¼¶±äËÙÆ÷µÈ×°ÖñäËÙ¡£Á÷Á¿0.8-150m3/h£¬Ñ¹Á¦0.4-1.2MPa¡£
²úÆ·ÓÃ;
»·¾³±£»¤‘¹¤ÒµÎÛË®¡¢Éú»îÎÛË®¡¢º¬ÓйÌÌå¿ÅÁ£¼°¶ÌÏËάµÄÎÛÄà×ÇË®µÄÊäËÍ£¬ÌرðʹÓÃÓÚÓÍË®·ÖÀëÆ÷
°å¿òѹÂË»úÉ豸µÈ¡£
´¬²°¹¤Òµ£ºÂÖµ×ÇåÏ´¡¢ÓÍË®¡¢ÓÍÔü¡¢ÓÍÎÛË®µÈ½äÖ¸ÊäËÍ¡£
ʯÓ͹¤Òµ£ºÊäËÍÔÓÍ¡¢ÔÓÍÓëË®µÄ»ìºÏÎúÌïÆøºÍË®µÄ»ìºÏÎï¡¢ÍùµØ²ãÄÚ¹à×¢¾ÛºÏÎïµÈ¡£
Ò½Ò©¡¢ÈÕ»¯£º¸÷ÖÖÕ³³í½¬¡¢È黯Һ¡¢¸÷ÖÖÈí¸à»¯×°Æ·
ʳƷ¹ÞÍ·ÐÐÒµ£º¸÷ÖÖÕ³³íµí·Û¡¢Å¨¾ÆÔã¡¢Á¸Ê³ÖÆÆ·Ôü¡¢¸÷ÖÖ½´Àà¡¢½¬Àà¡¢¹ÌÌåÎャҺ
½¨ÖþÐÐÒµ£ºË®Äàɳ½¬¡¢Ê¯»Ò½¬¡¢Í¿ÁÏ¡¢ºý×´ÌåµÄÅçÍ¿
²É¿óÐÐÒµ£º¿ó¾®ÄڵĹÌÌå¿ÅÁ£¡¢µØÏÂË®¡¢ÎÛ½¬Ë®
»¯Ñ§ÐÐÒµ£º¸÷ÖÖÐü¸¡Òº¡¢ÓÍÖ¬¡¢¸÷ÖÖ½ºÌ彬¡¢¸÷ÖÖÕ³ºÏ¼Á
Ó¡Ë¢¡¢ÔìÖ½£º¸ßÕ³¶ÈÓÍÄ«¡¢Ç½Ö½µÄPVC¸ß·Ö×ÓËÜÁϺýºÍ¸÷ÖÖŨ¶ÈµÄÖ½½¬£¬¶ÌÏËά½¬ÁÏ
¹¤Òµ¹øÂ¯¡¢µç³§£ºË®Ãº½¬ÊäËÍ
¹Ì¶¨×ªËÙʱµÄÐÔÄܲÎÊý
|
ÐͺŠ|
Á÷Á¿
(m3/h) |
ѹÁ¦
(Mpa) |
ÔÊÐí×î
¸ßתÊý
(r/min) |
µç»ú
¹¦ÂÊ
(kw) |
±ØÐèÆû
Ê´ÓàÁ¿
(m) |
½ø¿Ú·¨
À¼Í¨¾¶
(mm)
|
³ö¿Ú·¨
À¼Í¨¾¶
(mm) |
ÔÊÐí¿Å
Á£Ö±¾¶
(mm) |
ÔÊÐíÏË
ά³¤¶È
(mm) |
|
G20-1 |
0.8 |
0.6 |
960 |
0.75 |
4 |
25 |
25 |
1.5 |
25 |
|
G20-2 |
1.2 |
1.5 |
|
G25-1 |
2 |
0.6 |
960 |
1.5 |
40 |
32 |
2 |
30 |
|
G25-2 |
1.2 |
2.2 |
|
G30-1 |
5 |
0.6 |
960 |
2.2 |
50 |
40 |
2.5 |
35 |
|
G30-2 |
1.2 |
3 |
|
G35-1 |
8 |
0.6 |
960 |
3 |
65 |
50 |
3 |
40 |
|
G35-2 |
1.2 |
4 |
|
G40-1 |
12 |
0.6 |
960 |
4 |
80 |
65 |
3.8 |
45 |
|
G40-2 |
1.2 |
5.5 |
|
G50-1 |
14 |
0.6 |
720 |
5.5 |
4.5 |
100 |
80 |
5 |
50 |
|
G50-2 |
1.2 |
7.5 |
|
G60-1 |
22 |
0.6 |
720 |
11 |
5 |
125 |
100 |
6 |
60 |
|
G60-2 |
1.2 |
15 |
|
G70-1 |
38 |
0.6 |
720 |
11 |
150 |
125 |
8 |
70 |
|
G70-2 |
1.2 |
18.5 |
|
G85-1 |
56 |
0.6 |
630 |
15 |
150 |
150 |
10 |
80 |
|
G85-2 |
1.2 |
30 |
|
G105-1 |
100 |
0.6 |
500 |
30 |
200 |
200 |
15 |
110 |
|
G105-2 |
1.2 |
55 |
|
G135-1 |
150 |
0.6 |
400 |
45 |
250 |
250 |
20 |
150 |
|
G135-2 |
1.2 |
90 |
µ¥¼¶£¬ÓɳÝÂÖ±äËÙ¡¢µç´Åµ÷ËÙµç»ú¼Ó³ÝÂÖ±äËÙ»òÎÞ¼¶±äËÙµç»ú¼Ó³ÝÂÖ±äËÙʱµÄÐÔÄܲÎÊý
|
ÐͺŠ|
ѹÁ¦0.3Mpa |
ѹÁ¦0.6Mpa |
¿Éµ÷תÊý |
תÊý
(r/min) |
Á÷Á¿
(m3/h) |
µç¶¯»ú
¹¦ÂÊ
(kw) |
תÊý
(r/min) |
Á÷Á¿
(m3/h) |
µç¶¯»ú
¹¦ÂÊ
(kw) |
תÊý
(r/min) |
Á÷Á¿
(m3/h) |
µç¶¯»ú
¹¦ÂÊ
(kw) |
|
G20-1 |
960 |
0.96 |
0.75-6¼¶ |
960 |
0.8 |
0.75-6¼¶ |
125¡«1250 |
0.1¡«1.5 |
1.1 |
|
720 |
0.8 |
0.55-8¼¶ |
720 |
0.5 |
0.75-8¼¶ |
|
510 |
0.4 |
0.55-4¼¶/³ÝÂÖÏä |
510 |
0.3 |
0.75-4¼¶/³ÝÂÖÏä |
|
G25-1 |
960 |
2.4 |
0.75-6¼¶ |
960 |
2 |
1.5-6¼¶ |
125¡«1250 |
0.1¡«3 |
1.5 |
|
720 |
1.5 |
0.55-8¼¶ |
720 |
1.27 |
1.1-8¼¶ |
|
510 |
1.08 |
0.55-4¼¶/³ÝÂÖÏä |
510 |
0.9 |
1.1-4¼¶/³ÝÂÖÏä |
|
G30-1 |
960 |
3.6 |
1.5-6¼¶ |
960 |
3 |
2.2-6¼¶ |
125¡«1250 |
0.2¡«4 |
2.2 |
|
720 |
2.28 |
1.1-8¼¶ |
720 |
1.9 |
1.5-8¼¶ |
|
510 |
1.63 |
1.1-4¼¶/³ÝÂÖÏä |
510 |
1.35 |
1.5-4¼¶/³ÝÂÖÏä |
|
G35-1 |
720 |
4.8 |
2.2-8¼¶ |
720 |
4.04 |
3-8¼¶ |
125¡«890 |
0.3¡«5 |
3 |
|
510 |
3.36 |
1.5-4¼¶/³ÝÂÖÏä |
510 |
2.8 |
2.2-4¼¶/³ÝÂÖÏä |
|
380 |
1.92 |
1.1-4¼¶/³ÝÂÖÏä |
380 |
1.60 |
1.5-4¼¶/³ÝÂÖÏä |
|
G40-1 |
510 |
6.8 |
2.2-4¼¶/³ÝÂÖÏä |
510 |
5.6 |
3-4¼¶/³ÝÂÖÏä |
125¡«890 |
0.3¡«10 |
4 |
|
380 |
5.1 |
1.5-4¼¶/³ÝÂÖÏä |
380 |
4 |
2.2-4¼¶/³ÝÂÖÏä |
|
252 |
2.65 |
1.1-6¼¶/³ÝÂÖÏä |
252 |
2.2 |
1.5-6¼¶/³ÝÂÖÏä |
|
G50-1 |
510 |
13.8 |
4-4¼¶/³ÝÂÖÏä |
510 |
11.5 |
5.5-4¼¶/³ÝÂÖÏä |
80¡«750 |
1¡«18 |
5.5 |
|
380 |
10.2 |
4-4¼¶/³ÝÂÖÏä |
380 |
7.5 |
5.5-4¼¶/³ÝÂÖÏä |
|
252 |
5.6 |
3-6¼¶/³ÝÂÖÏä |
252 |
4.4 |
5.5-6¼¶/³ÝÂÖÏä |
|
G60-1 |
510 |
20.8 |
7.5-4¼¶/³ÝÂÖÏä |
510 |
16 |
11-4¼¶/³ÝÂÖÏä |
63¡«630 |
1¡«20 |
11 |
|
380 |
15.6 |
7.5-4¼¶/³ÝÂÖÏä |
380 |
12 |
11-4¼¶/³ÝÂÖÏä |
|
252 |
7.8 |
5.5-6¼¶/³ÝÂÖÏä |
252 |
6 |
7.5-6¼¶/³ÝÂÖÏä |
|
G70-1 |
510 |
26 |
11-4¼¶/³ÝÂÖÏä |
510 |
20 |
11-4¼¶/³ÝÂÖÏä |
56¡«560 |
1¡«22 |
11 |
|
380 |
17 |
7.5-4¼¶/³ÝÂÖÏä |
380 |
13 |
11-4¼¶/³ÝÂÖÏä |
|
252 |
9.1 |
7.5-6¼¶/³ÝÂÖÏä |
252 |
7 |
7.5-6¼¶/³ÝÂÖÏä |
|
G85-1 |
380 |
32 |
11-4¼¶/³ÝÂÖÏä |
380 |
25 |
15-4¼¶/³ÝÂÖÏä |
37¡«370 |
2¡«24 |
15 |
|
252 |
21 |
7.5-6¼¶/³ÝÂÖÏä |
252 |
16 |
11-6¼¶/³ÝÂÖÏä |
|
189 |
11 |
5.5-8¼¶/³ÝÂÖÏä |
189 |
8 |
11-8¼¶/³ÝÂÖÏä |
|
G105-1 |
380 |
80 |
15-4¼¶/³ÝÂÖÏä |
380 |
65 |
22-4¼¶/³ÝÂÖÏä |
29¡«290 |
3¡«50 |
22 |
|
252 |
44 |
15-6¼¶/³ÝÂÖÏä |
252 |
34 |
22-6¼¶/³ÝÂÖÏä |
|
189 |
29 |
11-8¼¶/³ÝÂÖÏä |
189 |
22 |
15-8¼¶/³ÝÂÖÏä |
|
G135-1 |
380 |
132 |
37-4¼¶/³ÝÂÖÏä |
380 |
120 |
45-4¼¶/³ÝÂÖÏä |
18¡«180 |
3¡«56 |
45 |
|
252 |
95 |
30-6¼¶/³ÝÂÖÏä |
252 |
80 |
37-6¼¶/³ÝÂÖÏä |
|
189 |
65 |
18.5-6¼¶/³ÝÂÖÏä |
189 |
53 |
30-8¼¶/³ÝÂÖÏä |
Ë«¼¶£¬ÓɳÝÂÖ±äËÙ¡¢µç´Åµ÷ËÙµç»ú¼Ó³ÝÂÖ±äËÙ»òÎÞ¼¶±äËÙµç»ú¼Ó³ÝÂÖ±äËÙʱµÄÐÔÄܲÎÊý
|
ÐͺŠ|
ѹÁ¦0.8Mpa |
ѹÁ¦1.2Mpa |
¿Éµ÷תÊý |
תÊý
(r/min) |
Á÷Á¿
(m3/h) |
µç¶¯»ú
¹¦ÂÊ
(kw) |
תÊý
(r/min) |
Á÷Á¿
(m3/h) |
µç¶¯»ú
¹¦ÂÊ
(kw) |
תÊý
(r/min) |
Á÷Á¿
(m3/h) |
µç¶¯»ú
¹¦ÂÊ
(kw) |
|
G20-2 |
960 |
0.96 |
1.5-6¼¶ |
960 |
0.8 |
1.5-6¼¶ |
125¡«1250 |
0.1¡«1.5 |
1.5 |
|
720 |
0.8 |
1.1-8¼¶ |
720 |
0.5 |
1.5-8¼¶ |
|
510 |
0.4 |
1.1-4¼¶/³ÝÂÖÏä |
510 |
0.3 |
1.1-4¼¶/³ÝÂÖÏä |
|
G25-2 |
960 |
2.4 |
1.5-6¼¶ |
960 |
2 |
2.2-6¼¶ |
125¡«1250 |
0.1¡«3 |
2.2 |
|
720 |
1.5 |
1.1-8¼¶ |
720 |
1.27 |
1.5-8¼¶ |
|
510 |
1.08 |
1.1-4¼¶/³ÝÂÖÏä |
510 |
0.9 |
1.5-4¼¶/³ÝÂÖÏä |
|
G30-2 |
960 |
3.6 |
3-6¼¶ |
960 |
3 |
3-6¼¶ |
125¡«1250 |
0.2¡«4 |
3 |
|
720 |
2.28 |
1.5-8¼¶ |
720 |
1.9 |
2.2-8¼¶ |
|
510 |
1.63 |
1.5-4¼¶/³ÝÂÖÏä |
510 |
1.35 |
2.2-4¼¶/³ÝÂÖÏä |
|
G35-2 |
720 |
4.8 |
3-8¼¶ |
720 |
4.04 |
4-8¼¶ |
125¡«890 |
0.3¡«5 |
4 |
|
510 |
3.36 |
2.2-4¼¶/³ÝÂÖÏä |
510 |
2.8 |
3-4¼¶/³ÝÂÖÏä |
|
380 |
1.92 |
1.5-4¼¶/³ÝÂÖÏä |
380 |
1.60 |
2.2-4¼¶/³ÝÂÖÏä |
|
G40-2 |
510 |
6.8 |
4-4¼¶/³ÝÂÖÏä |
510 |
5.6 |
5.5-4¼¶/³ÝÂÖÏä |
125¡«890 |
0.3¡«10 |
5.5 |
|
380 |
5.1 |
3-4¼¶/³ÝÂÖÏä |
380 |
4 |
4-4¼¶/³ÝÂÖÏä |
|
252 |
2.65 |
2.2-6¼¶/³ÝÂÖÏä |
252 |
2.2 |
3-6¼¶/³ÝÂÖÏä |
|
G50-2 |
510 |
13.8 |
5.5-4¼¶/³ÝÂÖÏä |
510 |
11.5 |
7.5-4¼¶/³ÝÂÖÏä |
80¡«750 |
1¡«18 |
7.5 |
|
380 |
10.2 |
4-4¼¶/³ÝÂÖÏä |
380 |
7.5 |
5.5-4¼¶/³ÝÂÖÏä |
|
252 |
5.6 |
3-6¼¶/³ÝÂÖÏä |
252 |
4.4 |
5.5-6¼¶/³ÝÂÖÏä |
|
G60-2 |
510 |
20.8 |
15-4¼¶/³ÝÂÖÏä |
510 |
16 |
15-4¼¶/³ÝÂÖÏä |
63¡«630 |
1¡«20 |
15 |
|
380 |
15.6 |
11-4¼¶/³ÝÂÖÏä |
380 |
12 |
15-4¼¶/³ÝÂÖÏä |
|
252 |
7.8 |
7.5-6¼¶/³ÝÂÖÏä |
252 |
6 |
11-6¼¶/³ÝÂÖÏä |
|
G70-2 |
510 |
26 |
15-4¼¶/³ÝÂÖÏä |
510 |
20 |
18.5-4¼¶/³ÝÂÖÏä |
56¡«560 |
1¡«22 |
18.5 |
|
380 |
17 |
11-4¼¶/³ÝÂÖÏä |
380 |
13 |
15-4¼¶/³ÝÂÖÏä |
|
252 |
9.1 |
11-6¼¶/³ÝÂÖÏä |
252 |
7 |
11-6¼¶/³ÝÂÖÏä |
|
G85-2 |
380 |
32 |
18.5-4¼¶/³ÝÂÖÏä |
380 |
25 |
22-4¼¶/³ÝÂÖÏä |
37¡«370 |
2¡«24 |
22 |
|
252 |
21 |
15-6¼¶/³ÝÂÖÏä |
252 |
16 |
18.5-6¼¶/³ÝÂÖÏä |
|
189 |
11 |
15-8¼¶/³ÝÂÖÏä |
189 |
8 |
15-8¼¶/³ÝÂÖÏä |
|
G105-2 |
380 |
80 |
30-4¼¶/³ÝÂÖÏä |
380 |
65 |
37-4¼¶/³ÝÂÖÏä |
29¡«290 |
3¡«50 |
37 |
|
252 |
44 |
30-6¼¶/³ÝÂÖÏä |
252 |
34 |
30-6¼¶/³ÝÂÖÏä |
|
189 |
29 |
22-8¼¶/³ÝÂÖÏä |
189 |
22 |
22-8¼¶/³ÝÂÖÏä |
|
G135-2 |
380 |
132 |
55-4¼¶/³ÝÂÖÏä |
380 |
120 |
75-4¼¶/³ÝÂÖÏä |
18¡«180 |
3¡«56 |
75 |
|
252 |
95 |
55-6¼¶/³ÝÂÖÏä |
252 |
80 |
75-6¼¶/³ÝÂÖÏä |
|
189 |
65 |
37-8¼¶/³ÝÂÖÏä |
189 |
53 |
45-8¼¶/³ÝÂÖÏä |
µ¥¡¢Ë«¼¶Ë®Ãº½¬¹¤×÷±ÃµÄÐÔÄܲÎÊý
|
±Ã ÐÍ |
Á÷Á¿
(m3/h) |
¹¤×÷ѹÁ¦
(Mpa) |
תÊý
(r/min) |
³ÝÂÖ¼õËÙÅäÌ×µ÷ËÙµç»ú
(kw) |
|
G30-2 |
¡¡¡«1 |
1.2 |
30¡«300 |
YCT160/4A-2.2 |
|
G35-2 |
¡¡¡«2 |
1.2 |
30¡«300 |
YCT160/4A-2.2 |
|
G40-2 |
¡¡¡«3 |
1.2 |
30¡«280 |
YCT160/4A-3 |
|
G50-1 |
¡¡¡«4.5 |
0.6 |
28¡«280 |
YCT180/4A-4 |
|
G50-2 |
¡¡¡«4.5 |
1.2 |
28¡«280 |
YCT200/4A-5.5 |
|
G60-1 |
¡¡¡«6.5 |
0.6 |
25¡«250 |
YCT200/4A-5.5 |
|
G60-2 |
¡¡¡«6.5 |
1.2 |
25¡«250 |
YCT200/4B-7.5 |
|
G70-1 |
¡¡¡«8 |
0.6 |
25¡«250 |
YCT200/4B-7.5 |
|
G85-1 |
¡¡¡«12.5 |
0.6 |
18¡«180 |
YCT225/4A-11 |
|
G105-1 |
¡¡¡«20 |
0.6 |
14¡«140 |
YCT225/4B-15 |
|
G135-1 |
¡¡¡«35 |
0.6 |
10¡«100 |
YCT250/4B-22 |
˵Ã÷£º
1¡¢ÒÔÉÏÐÔÄܲÎÊýÊdz£ÎÂÇåË®ÊÔÑéʱµÄÊÔÑéÊý¾Ý£»
2¡¢¶ÔÓÚ²»Í¬µÄ½éÖÊ¡¢²»Í¬µÄתËÙ£¬ÐÔÄܲÎÊý¶¼½«±ä»¯£¬ÆäÁ÷Á¿ÖµÓëŨ¶È¡¢Õ³¶È³É·´±È£¬ÓëתËÙ³ÉÕý±È£»
3¡¢Óû§±ØÐë¸ù¾ÝʹÓÃÒªÇó¡¢ÊäËͽéÖʵÄ×´¿ö¡¢Ñ¡ÐÍÔÔòÑ¡Ôñ±ÃµÄÀàÐÍ£¬»òÕߺͱ¾¹«Ë¾¼¼Êõ²¿ÃÅÐÉÌÀ´¾ö¶¨±ÃµÄÀàÐÍ¡£
4¡¢¶ÔÓÚˮú½¬±Ã´«¶¯ÐÎʽΪ³ÝÂÖµ÷ËÙÅäÌ×µç´Åµ÷ËÙµç»ú»ò»úеÎÞ¼¶±äËÙµç»ú£¬Á÷Á¿Ëæ×ªËٱ仯ÎÞ¼¶¿Éµ÷¡£¹ÊÕÏ·ÖÎöÓëÅųý·½·¨£º
|
¹ÊÕÏ
|
ÔÒò
|
Åųý·½·¨
|
|
1¡¢±Ã²»ÄÜÆð¶¯
|
a¡¢Ð±Ãת¡¢¶¨×ÓÅäºÏ¹ý½ô
b¡¢µçѹ¡¢µçÁ÷Ì«µÍ
c¡¢½éÖÊÕ³¶È¹ý¸ß
|
a¡¢Óù¤¾ßÈËÁ¦°ïÖúת¶¯¼¸È¦
b¡¢¼ì²é¡¢µ÷Õû
c¡¢Ï¡ÊÍÁÏÒº
|
|
2¡¢±Ã²»³öÒº
|
a¡¢Ðýת·½Ïò²»¶Ô
b¡¢ÎüÈë¹Ü·ÓÐÎÊÌâ
c¡¢½éÖÊÕ³¶È¹ý¸ß
d¡¢×ª¡¢¶¨×ÓË𻵻ò´«¶¯²¿¼þËð»µ
e¡¢±ÃÄÚµ¼Îï¶ÂÈû
|
a¡¢µ÷Õû·½Ïò
b¡¢¼ì²éй©£¬´ò¿ª½ø³ö¿Ú·§ÃÅ
c¡¢Ï¡ÊÍÁÏÒº
d¡¢¼ì²é¸ü»»
c¡¢Åųý¸ü»»
|
|
3¡¢Á÷Á¿´ï²»µ½
|
a¡¢¹Ü·й©
b¡¢·§ÃÅδȫ²¿´ò¿ª»ò¾Ö²¿¶ÂÈû
c¡¢×ªËÙÌ«µÍ
d¡¢×ª¡¢¶¨×ÓÄ¥Ëð
|
a¡¢¼ì²éÐÞÀí¹Ü·
b¡¢´ò¿ªÈ«²¿·§ÃÅ¡¢Åųý¶ÂÈûÎï
c¡¢µ÷ÕûתËÙ
d¡¢¸ü»»Ëð»µÁí¼þ
|
|
4¡¢Ñ¹Á¦´ï²»µ½
|
a¡¢×ª×Ó¡¢¶¨×ÓÄ¥Ëð
|
a¡¢¸ü»»×ª¡¢¶¨×Ó
|
|
5¡¢µç»ú¹ýÈÈ
|
a¡¢µç»ú¹ÊÕÏ
b¡¢³ö¿ÚѹÁ¦¹ý¸ß£¬µç»ú³¬ÔØ
c¡¢¶¨×ÓÉÕ»µ»òÕ³ÔÚת×ÓÉÏ
|
a¡¢¼ì²éµç»ú¡¢µçѹ¡¢µçÁ÷¡¢µçƵ
b¡¢¼ì²éÑï³Ì£¬¿ª×ã³ö¿Ú·§ÃÅ£¬Åųý×èÈû
c¡¢¸ü»»Ë𻵼þ
|
|
6¡¢Á÷Á¿Ñ¹Á¦¼±¾çϽµ
|
a¡¢¹ÜµÀͻȻ¶ÂÈû»òй©
b¡¢¶¨×ÓÄ¥Ëð¶ñÁÓ
c¡¢ÒºÌåÕ³¶ÈͻȻ¸Ä±ä
d¡¢µçѹͻȻϽµ
|
²ÎÕÕÒÔϼ¸ÏÖðÏîÅųý
|
|
7¡¢ÖáÃÜ·â´¦´óÁ¿Ð¹Â©ÒºÌå
|
a¡¢ÈíÌîÁÏÄ¥Ëð
b¡¢»úеÃÜ·âËð»µ
|
a¡¢Ñ¹½ô»ò¸ü»»ÌîÁÏ
b¡¢ÐÞ¸´»ò¸ü»»
|
ÇëÌṩÒÔÏÂÏêϸÊý¾Ý£º¢ÙGÐÍÂݸ˱òúÆ·Ãû³ÆÓëÐͺŢÚGÐÍÂݸ˱ÃÁ÷Á¿¢ÛGÐÍÂݸ˱ÃÑï³Ì(m)¢ÜGÐÍÂݸ˱ÿھ¶¢ÝGÐÍÂݸ˱õç»ú¹¦ÂÊ(KW)¢ÞGÐÍÂݸ˱ÃתËÙ(r/min)¢ßGÐÍÂݸ˱õçѹ¡²V¡³¢àGÐÍÂݸ˱ÃÎü³Ì(m)¢áGÐÍÂݸ˱ÃÊÇ·ñ´ø¸½¼þÒÔ±ãÎÒÃǵÄΪÄúÕýÈ·Ñ¡ÐÍ¡£
¸Ðл·ÃÎÊȪ´ï£¬ÎÒ¹«Ë¾Ö÷ÒªÉú²ú¹ÜµÀ±Ã£¬×ÔÎü±Ã£¬ÅÅÎ۱õȲúÆ·