ZCQ不锈钢磁力自吸泵产品简介:
ZCQ型不锈钢磁力自吸泵是永嘉县泉达泵阀制造有限公司根据众用户的要求,在CQ型磁力泵的基础上吸取国外最新技术,并经过泉达工程技术人员反复研究试验而成功的新产品,其性能达到国外同类产品九十年代先进水平。 可广泛应用于化工,制药,石油,电镀,食品,电影照相洗印,科研机构。为您的生产与生活打造好帮手。
ZCQ不锈钢磁力自吸泵型号意义:

ZCQ不锈钢磁力自吸泵产品特点:
ZCQ型不锈钢磁力自吸泵以静密封取代动密封,使泵的过流部件处于完全密封状态,彻底解决了其它泵机械密封无法避免的跑、冒、滴、漏之弊病,泵体及过流部件的材料均采用了耐腐蚀的不锈钢、钢玉陶瓷、四氟石墨等材料制造,既有CQ型磁力驱动泵的功能,又集自吸于一身,不需底阀和引灌水,自吸高度4米。
ZCQ型不锈钢磁力自吸泵结构紧凑、外形美观、体积小、噪音低、运行可靠、使用维修方便。可广泛应用于化工、制药、石油、电镀、食品、电影照相洗印、科研机构、国防工业等单位抽送酸、碱液、油类、稀有贵重液、毒液、挥发性液体,以及循环水设备配套、过滤机配套。特别是易漏、易燃、易爆液体的抽送,选用此泵则更为理想。
因此,磁力自吸泵是有广泛用途,我们真诚地向用户推荐这种新产品。
ZCQ不锈钢磁力自吸泵工作原理:
ZCQ型不锈钢磁力自吸泵采用外混式轴向回水泵体结构,泵体由吸液室、储液室、蜗壳、回流孔、气液分离室等部份组成,结构见图。泵启动后,在离心力的作用下,吸水室中的剩余液与进液管路中的空气被叶轮搅拌成气水混合物,混合物经蜗壳进入气液分离室,随着速度减慢,导致气水分离,空气由泵出液口排出,液经回水孔返回泵内,经过多次循环,进液管道中的空气被排净,使泵内形成一定的真空度,达到自吸的作用。
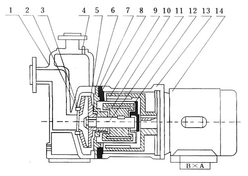
ZCQ不锈钢磁力自吸泵结构图:
|

|
1
|
泵体
|
|
2
|
静环
|
|
3
|
动环
|
|
4
|
加水螺栓
|
|
5
|
叶轮
|
|
6
|
密封圈
|
|
7
|
隔板
|
|
8
|
隔离板
|
|
9
|
外磁钢总成
|
|
10
|
内磁钢总成
|
|
11
|
泵轴
|
|
12
|
轴套
|
|
13
|
联接架
|
|
14
|
电机
|
ZCQ不锈钢磁力自吸泵产品用途:
ZCQ型不锈钢磁力自吸泵可广泛用于石油、化工、制药、电镀、印染、食品、科研等单位,抽送酸、碱、油类及稀有贵重液、毒液、挥发性液体,以及循环水设备配套,特别是易漏、易燃、易爆液体的抽送。
ZCQ不锈钢磁力自吸泵性能参数:
|
型号
|
口径(mm)
|
流量(m3/h)
|
扬程(m)
|
电机功率 (kW)
|
电压
|
材质
|
|
进口
|
出口
|
(V)
|
|
ZCQ20-12-100
|
20
|
12
|
3
|
12
|
0.37
|
220/380
|
不锈钢
|
|
ZCQ25-20-115
|
25
|
20
|
6.6
|
15
|
1.1
|
380
|
|
ZCQ32-25-115
|
32
|
25
|
6.6
|
15
|
1.1
|
380
|
|
ZCQ32-25-145
|
32
|
25
|
6.6
|
25
|
1.1
|
380
|
|
ZCQ40-32-132
|
40
|
32
|
10.8
|
20
|
2.2
|
380
|
|
ZCQ40-32-160
|
40
|
32
|
12
|
32
|
4
|
380
|
|
ZCQ50-40-145
|
50
|
40
|
14.4
|
25
|
4
|
380
|
|
ZCQ50-40-160
|
50
|
40
|
13.2
|
32
|
4
|
380
|
|
ZCQ50-40-200
|
50
|
40
|
7.8
|
50
|
5.5
|
380
|
|
ZCQ65-50-145
|
65
|
50
|
16.8
|
25
|
5.5
|
380
|
|
ZCQ65-50-160
|
65
|
50
|
27
|
32
|
7.5
|
380
|
|
ZCQ80-65-125
|
80
|
65
|
50
|
20
|
7.5
|
380
|
|
ZCQ80-65-160
|
80
|
65
|
50
|
32
|
15
|
380
|
|
ZCQ80-65-200
|
80
|
65
|
50
|
50
|
18.5
|
380
|
|
注:每个型号都可配防爆电机
|
ZCQ不锈钢磁力自吸泵使用:
1、自吸泵使用前应进行检查、电机风叶转动要灵活、无卡住及异声现象,各紧固件要牢固。
2、拧开自吸泵上方的加水螺栓,加入储液水不少于泵体容积的三分之二,旋紧螺栓。
3、接上电源试转一下,从电机端看,运转是否与泵转向标记一致。
4、自吸泵停止工作前,先关闭排出阀门,再关闭电源,最后关闭吸入管阀门。
ZCQ不锈钢磁力自吸泵使用注意事项:
1.因自吸泵轴承的冷却和润滑是靠被输送的介质,所以绝对禁止空运转,同时避免在工作中途停电后再启动时所造成时空载运转。
2.被输送介质中,若含有固体颗粒,泵入口要加过滤网:如含有铁磁质微粒,需加磁性过滤器。
3.泵在使用中环境温度应小于40℃,电机温升不得超过75℃。
4.被输送的介质及其温度应在泵材允许的范围内。金属泵的使用温度<100℃,被输送的介质比重≤1.3;介质比重<1.3时,将影响技术性能。
5.对于输送液为易沉淀结晶的介质,使用后应及时清洗,排净泵内积液。
6.自吸泵运行500小时后,应拆检轴承和端面动环的磨损情况,若轴承和轴套的间隙大于0.5~1mm,叶轮轴向窜动1.5~2mm时,应更换轴承和轴向动环。
ZCQ不锈钢磁力自吸泵主要材料的耐腐蚀性能(供参考)附表:
|
介质名称
|
浓度(%)
|
不锈钢
|
浓度(%)
|
陶 瓷
|
|
25℃
|
50℃
|
25℃
|
80℃
|
|
硫 酸
|
〈5
|
√
|
×
|
|
v
|
v
|
|
硝 酸
|
70
|
v
|
√
|
|
v
|
v
|
|
盐 酸
|
|
×
|
|
|
v
|
v
|
|
氢氟酸
|
|
×
|
|
0~100
|
×
|
|
|
醋 酸
|
〈20
|
√
|
√
|
|
v
|
v
|
|
氢氧化钠
|
70
|
√
|
√
|
|
○
|
×
|
|
重铬酸钾
|
40~60
|
v
|
v
|
10~20
|
v
|
v
|
|
溴 水
|
|
〇
|
|
|
v
|
v
|
|
乙 醇
|
|
v
|
√
|
|
v
|
v
|
|
丙 酮
|
|
v
|
v
|
|
v
|
|
|
四氯乙烷
|
50
|
v
|
v
|
|
v
|
v
|
|
氟利昂22
|
|
v
|
|
|
v
|
v
|
|
漂白液
|
CL12%
|
×
|
|
|
v
|
v
|
|
电镀液
|
|
|
|
|
v
|
v
|
|
照相液
|
|
v
|
|
|
v
|
v
|
|
符号说明:v-优良,√ -良好,o-可用,但腐蚀明显,× -腐蚀严重,不适用。
|
相关关键词:自吸泵,不锈钢自吸泵,磁力自吸泵,不锈钢磁力自吸泵

永嘉泉达泵阀制造有限公司,泵阀设备制造厂家,主流产品有管道泵,离心泵,自吸泵,排污泵等,欢迎您访问永嘉泉达泵阀制造有限公司【www.94651.cn】。
相关产品:
自吸式油泵CYZ-A型 W旋涡泵 (ZS)型系列玻璃钢自吸泵 FZB氟塑料自吸泵 JMZ移动酒泵 ZWP不锈钢自吸泵
WFZB无密封自控自吸泵 CYZ-A型自吸式油泵 磁力驱动自吸泵 ZX型自吸式清水泵 ZBF型塑料磁力自吸泵
ZCQ型不锈钢磁力自吸泵 ZW无堵塞自吸泵 ZW型自吸泵机械密封