ZCZP中温电磁阀产品用途
永嘉县泉达泵阀制造有限公司生产的ZCZP中温电磁阀适用范围于以蒸汽为加热介质,进行温度自动控制的执行机构。可对蒸汽加热器、散热器、干燥器等蒸汽设备及各类温度自控仪、蒸汽定型机、蒸染机、蒸汽回潮机等成套设备的锅炉蒸汽管道进行二位式自动控制和远程控制区。广泛应用于染化、纺织、印染、食品、医药、卷烟、水泥制品、石油化工、冶金等部门的自控系统。质量可靠,使用寿命长。
ZCZP中温电磁阀型号规格说明

ZCZP中温电磁阀主要特点
耐热:电磁部分、密封件部分用特种耐调温电工材料和密封材料,并应用了各种隔热措施。
耐磨:选材合理,阀杯和导向套间巧妙地利用流体的润滑作用,减少磨损
耐冷凝:蒸 汽管道的冷凝水是影响蒸汽电磁阀动作的重要因素,本阀则不受冷凝水影响。
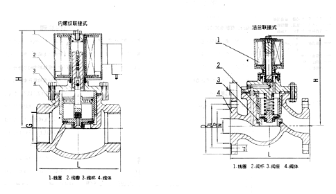
ZCZP中温电磁阀结构原理
ZCZP中温电磁阀由副阀和主阀两大部件构成的先导式二次开阀的电磁阀。是靠副阀的启闭来控制主阀的通断。根据断电时所处开关状态的不同,可分为常闭电磁阀和??绱欧?。常闭电磁阀,在断电常位时,副阀口封闭,主阀呈断路,当电讯号进入导阀线圈时,活动铁芯受电磁力作用吸上打开副阀口,主阀阀杯内压力迅速消失,介质压力将主阀阀杯托上,开启主阀口,工作介质硬可流通。但当电讯号消失时,活动铁芯复位,封闭住副阀口,工作介质自平衡孔进入阀杯内,当压力趋于平衡时,靠主阀弹簧、阀杯自重及介质压力使阀杯下移,严密封住主阀口,阀又呈关闭状态。常开电磁阀,在断电常位时,由弹簧作用,副阀口打开,主阀流通。当电讯号进入副阀线圈时,活动铁芯受电磁作用吸下,副阀口封闭,工作介质经平衡孔进入阀杯内,当压力趋于平衡时,靠主阀弹簧、阀杯自重及介质压力使阀杯下移,严密封主阀口,阀门呈关闭状态。当主阀断电时,电磁力消失,副阀打开,主阀杯内压力迅速消失,介质压力将主阀阀杯托上,开启主阀口,介质流通,阀呈开启状态。

ZCZP中温电磁阀主要参数
|
项目
|
说明
|
|
工作介质
|
蒸汽及其它无腐蚀性气体
|
|
介质温度(℃)
|
≤200
|
|
公称压力(MPa)
|
1.6
|
|
工作压差(MPa)
|
0.05~1.6
|
0.10~1.6
|
|
电源电压
|
AC220V其余规格可作特殊订货
|
|
使用寿命(万次)
|
≥10
|
≥5
|
≥3
|
|
公称通径(mm)
|
15
|
20
|
25
|
32
|
40
|
50
|
65
|
80
|
100
|
125
|
150
|
|
额定流量系数(KV)
|
2.8
|
5
|
8.5
|
12
|
18
|
28
|
45
|
70
|
110
|
180
|
250
|
|
泄漏量(ml/min)
|
1.5
|
3
|
4.5
|
6
|
9
|
17
|
28
|
40
|
|
功耗
|
50VA
|
|
防爆标志
|
DIIBT4
|
|
防爆证编号
|
CE991010
|
|
出线口接头
|
内螺纹M20×1.5
|
|
环境温度
|
-40~+60℃
|
ZCZP中温电磁阀安装尺寸
|
公称通径
DN
|
内螺纹连接
|
法兰连接
|
|
外形尺寸
|
内螺纹
|
外形尺寸
|
法兰尺寸
|
|
H
|
L
|
G
|
H
|
L
|
D
|
D1
|
D2
|
b
|
f
|
n-d
|
|
15
|
148
|
92
|
1/2
|
176
|
130
|
65
|
65
|
46
|
14
|
2
|
4-Φ14
|
|
20
|
148
|
92
|
3/4
|
181
|
150
|
105
|
75
|
56
|
16
|
2
|
4-Φ14
|
|
25
|
148
|
110
|
1
|
210
|
160
|
115
|
85
|
65
|
16
|
3
|
4-Φ14
|
|
32
|
182
|
120
|
11/4
|
221
|
180
|
140
|
100
|
76
|
18
|
3
|
4-Φ18
|
|
40
|
182
|
140
|
11/2
|
230
|
200
|
150
|
110
|
84
|
18
|
3
|
4-Φ18
|
|
50
|
192
|
162
|
2
|
252
|
230
|
165
|
125
|
99
|
20
|
3
|
4-Φ18
|
|
65
|
|
|
|
265
|
290
|
185
|
145
|
118
|
20
|
3
|
4-Φ18
|
|
80
|
|
|
|
276
|
310
|
200
|
160
|
132
|
20
|
3
|
8-Φ18
|
|
100
|
|
|
|
373
|
350
|
220
|
180
|
156
|
22
|
3
|
8-Φ18
|
|
125
|
|
|
|
416
|
400
|
250
|
210
|
184
|
22
|
3
|
8-Φ18
|
|
150
|
|
|
|
440
|
480
|
285
|
240
|
211
|
24
|
3
|
8-Φ22
|
ZCZP中温电磁阀安装须知
1、安装时电磁阀线圈向上,并保持垂直位置,电磁阀上箭头或标记应与管道流向一致,不得安装在有溅水或漏水的地方。
2、电磁阀的工作介质应清洁无颗粒杂质,电磁阀内件表面上的污物及过滤器,需定期清洁干净。
3、在电磁阀发生故障时,为了及时隔离电磁阀,并保证系统正常运行,最好安装旁路装置(如图一)。
4、在管路系统中,安装在支路上的电磁阀通径应小于主管道阀门的通径(如图二)。
5、安装电磁阀前,管道必须清洗干净。建议在阀前安装过滤器,蒸汽管道安装疏水阀。
6、不能将阀安装在管道的低凹处,以免因蒸汽冷凝水、杂质等沉淀在阀内而妨碍动作。
7、普通型不能在爆炸危险场合使用。
8、在管路刚性不足情况下,建议把阀前管道用支架固定,以免电磁阀工作时引起振动。
9、在安装前,要注意看清产品标牌,认真阅读使用说明书,判断产品是否符合使用条件。
10、电磁阀前后管道上需安装压力表,以便观察管道压力。

ZCZP中温电磁阀使用保养
1、建议使用单位派专人负责使用保养。
2、电磁阀安装后需通入介质实验动作数次,确认正常后方可投入正式使用。
3、应定期清洗大阀内外及衔吸合面的污物,注意不要损坏密封面。
4、电磁阀较长时间不用时,应关闭阀前手动阀,重新启用时,蒸汽电磁阀应将冷凝水排除干净,并作试动作数次,待开关正常后方可投入使用。
5、电磁阀从管路上卸下不用时,应将内部零件拭净并用压缩空气吹净储存。
6、使用时间较长时,如活塞与阀座间密封不好,可将活塞密封面重新磨平,现和阀座研磨。
7、工作时,要注意阀门前后压力表,要求工作压力不得超过额定压力,工作压差必须在额定压差范围内。当工作压力超过额定压力或工作压差超过额定压差时,电磁阀要停止使用,关闭前后手动阀,以免电磁阀爆炸和泄漏。
ZCZP中温电磁阀订货须知
1、订货时请注明型号、公称通径、公称压力、工作介质、工作压差、介质温度、电源电压及功率、介质粘度。
|
2、电磁阀正常工作时的电压为220
|
+22 |
V,如超过此范围,请订货时注明电压波动量。其它规格电源电压可做特殊订货。
|
|
-15 |
3、阀门的开通时间达12小时以上,请选用开式电磁阀。当使用环境周围有易燃易爆品请选用防爆型电磁阀。(防爆型结构如下图三)

ZCZP中温电磁阀厂家
DMF-Z型电磁脉冲阀 ZCZG丨ZCZH型高温电磁阀 ZCS水液电磁阀 SLDF水下专用电磁阀 ZCM煤气电磁阀 ZBSF电磁阀
ZL47F自力式流量控制阀 ZCZP中温电磁阀 ZQDF蒸汽电磁阀